А кольца? В каждом ларьке торгуют? Заказать в инет магазе не судьба?SNOOPER писал(а):Учу читать, дорого..............NazareT писал(а):Цена самой простой оправки 600р в 3 раза дешевле колец...
dvm99 писал(а):Не продают у нас оправок.
.
TRT - Вдоль р.Киржач. Для стандартных 4х4 (08.11.25) Форум Обсуждение FAQ
Поршневые кольца (снятие-установка)
Модераторы: SNOOPER, Nbf, Romik, BAlex, drcham, алексей - Маленький Мук, DenVer
- ЯпонеЦ
- Сообщения: 4146
- Зарегистрирован: 20 ноя 2006, 21:33
- Двигатель:: 3VZ-E, были 4D56T, 6G72
- Мой автомобиль(и):: TOYOTA HILUX, шнорк, лебедка, км2 35х12,5х15. ММС Delica 4м40 сток пока.
- Откуда: Сочи, Адлер
- Откуда: Сочи
- Благодарил (а): 44 раза
- Поблагодарили: 182 раза
Re: Поршневые кольца (снятие-установка)
Мой танк тут https://www.drive2.ru/r/toyota/hilux_surf/332538/
- dvm99
- Сообщения: 21743
- Зарегистрирован: 21 май 2012, 20:59
- Двигатель:: 6G72, 12клап.,
- Мой автомобиль(и):: Pajero2, Запорожец- Ланос
- Откуда: Свердловская обл.
- Благодарил (а): 706 раз
- Поблагодарили: 1028 раз
Re: Поршневые кольца (снятие-установка)
Да ладно обойдусь, бюджет и так кот наплакал.
Сейчас уже знаю, чего делать нельзя при запихивании поршней, надеюсь, не повторится
Сейчас уже знаю, чего делать нельзя при запихивании поршней, надеюсь, не повторится
Дмитрий
Боливар2 - П2, 92г., V43, 6G72(12V), V4AW2, RD/L, пруль (чистокровный японский рысак)
Боливар1 - П2, 93г., 6G72(12V), МКПП, V43, RD/L, Европа (славный был конь, но уже донор)
Боливар2 - П2, 92г., V43, 6G72(12V), V4AW2, RD/L, пруль (чистокровный японский рысак)
Боливар1 - П2, 93г., 6G72(12V), МКПП, V43, RD/L, Европа (славный был конь, но уже донор)
-
andreyU-I
- Сообщения: 22
- Зарегистрирован: 13 май 2012, 07:32
- Двигатель:: 6G72 24valve
- Мой автомобиль(и):: Pajero III 04г.
Re: Поршневые кольца (снятие-установка)
Добрый день!
Вопрос по поршневым кольцам. Появилась необходимость заменить кольца и столкнулся с проблемой. На мой двигатель везде пробиваются только оригинал (MD 374009). Двигатель 6G72 24 кл. Pajero 3 2004 год, правый руль.
Хотел уточнить неужели на данную модификацию только оригинал???? Первый раз по быстрому "пробил" вроде как ТР 33920, но там кольца 1,2х1,5х3,0 а когда вскрыл двигатель у меня 1,2х1,2х2,5. Может быть есть все таки аналог? Не хочется покупать за 9т.р.....
Хоть канавки в поршнях растачивай....
Вопрос по поршневым кольцам. Появилась необходимость заменить кольца и столкнулся с проблемой. На мой двигатель везде пробиваются только оригинал (MD 374009). Двигатель 6G72 24 кл. Pajero 3 2004 год, правый руль.
Хотел уточнить неужели на данную модификацию только оригинал???? Первый раз по быстрому "пробил" вроде как ТР 33920, но там кольца 1,2х1,5х3,0 а когда вскрыл двигатель у меня 1,2х1,2х2,5. Может быть есть все таки аналог? Не хочется покупать за 9т.р.....
Хоть канавки в поршнях растачивай....
- molotok59
- Сообщения: 139
- Зарегистрирован: 28 авг 2010, 00:00
- Двигатель:: 6G72 12-кл.
- Мой автомобиль(и):: Pajero2 V23W GLS 1993г. АКПП SS R/D lock Леруль.
- Откуда: ПЕРМЬ
- Благодарил (а): 2 раза
- Поблагодарили: 12 раз
Re: Поршневые кольца (снятие-установка)
Это наверно по принципу "Мы не ищем лёгких путей" ??? В Легионовской мурзилке тоже нарисован какой то страшный гинекологический инструмент для расширения ...dvm99 писал(а):Сегодня снял два поршня и кольца с них с помощью Дёминых ссылок. Красатишша!, ни одно не сломал. В качестве пластинок испльзовал титан 0,2 мм, но думаю, что и жестянка от консервов подойдёт, усилия небольшие. Единственное, что пришлось доработать их, чтобы удобнее было снимать маслосъёмные кольца, - загнуть один краешек. А для компрессионных наоборот удобнее прямой край использовать.
По поводу забивания поршней с кольцами в блок молотком - это вам в любом сервисе сделают
Куда ??? В сервис ??? Неет !!! Свою машину и жену в чужие руки не даю !!!
- dvm99
- Сообщения: 21743
- Зарегистрирован: 21 май 2012, 20:59
- Двигатель:: 6G72, 12клап.,
- Мой автомобиль(и):: Pajero2, Запорожец- Ланос
- Откуда: Свердловская обл.
- Благодарил (а): 706 раз
- Поблагодарили: 1028 раз
Re: Поршневые кольца (снятие-установка)
Вот шайтан... 
А канавки на поршне не разбиты случаем? Что-то уж больно легко кольца (особенно второе) выползают, ещё и насухую.
Конус- неплохо конечно, был бы стакнок под руками.
А канавки на поршне не разбиты случаем? Что-то уж больно легко кольца (особенно второе) выползают, ещё и насухую.
Конус- неплохо конечно, был бы стакнок под руками.
Дмитрий
Боливар2 - П2, 92г., V43, 6G72(12V), V4AW2, RD/L, пруль (чистокровный японский рысак)
Боливар1 - П2, 93г., 6G72(12V), МКПП, V43, RD/L, Европа (славный был конь, но уже донор)
Боливар2 - П2, 92г., V43, 6G72(12V), V4AW2, RD/L, пруль (чистокровный японский рысак)
Боливар1 - П2, 93г., 6G72(12V), МКПП, V43, RD/L, Европа (славный был конь, но уже донор)
- Владимир Михайлович
- Сообщения: 6286
- Зарегистрирован: 22 фев 2008, 20:51
- Двигатель:: 6G74
- Мой автомобиль(и):: Монтеро 94 г.в.
- Откуда: Питер
- Откуда: Санкт-Петербург
- Благодарил (а): 69 раз
- Поблагодарили: 178 раз
Re: Поршневые кольца (снятие-установка)
Как, у тебя дома нет такой мелочи, как станок? Ну о чем тогда говорить...dvm99 писал(а):
Конус- неплохо конечно, был бы стакнок под руками.
Монтеро 5 дв. 6G74.АКПП. 94 г.в.
- dvm99
- Сообщения: 21743
- Зарегистрирован: 21 май 2012, 20:59
- Двигатель:: 6G72, 12клап.,
- Мой автомобиль(и):: Pajero2, Запорожец- Ланос
- Откуда: Свердловская обл.
- Благодарил (а): 706 раз
- Поблагодарили: 1028 раз
Re: Поршневые кольца (снятие-установка)
Вообще, Михалыч, задел за живое, можно сказать! Это моя давнишняя мечта- иметь маленький токарник. Сейчас правда уже не актуально, но лет бы этак 20-25 назад, когда механику магнитофонов (чем серьёзно увлекался) буквально на коленках воял.
Дмитрий
Боливар2 - П2, 92г., V43, 6G72(12V), V4AW2, RD/L, пруль (чистокровный японский рысак)
Боливар1 - П2, 93г., 6G72(12V), МКПП, V43, RD/L, Европа (славный был конь, но уже донор)
Боливар2 - П2, 92г., V43, 6G72(12V), V4AW2, RD/L, пруль (чистокровный японский рысак)
Боливар1 - П2, 93г., 6G72(12V), МКПП, V43, RD/L, Европа (славный был конь, но уже донор)
- Владимир Михайлович
- Сообщения: 6286
- Зарегистрирован: 22 фев 2008, 20:51
- Двигатель:: 6G74
- Мой автомобиль(и):: Монтеро 94 г.в.
- Откуда: Питер
- Откуда: Санкт-Петербург
- Благодарил (а): 69 раз
- Поблагодарили: 178 раз
Re: Поршневые кольца (снятие-установка)
Я механику магнитофонов ваял раньше, 40 лет назад. А 25 лет назад уже можно было найти готовую механику и ваять более интересную, электприческую часть.dvm99 писал(а):![]()
Вообще, Михалыч, задел за живое, можно сказать! Это моя давнишняя мечта- иметь маленький токарник. Сейчас правда уже не актуально, но лет бы этак 20-25 назад, когда механику магнитофонов (чем серьёзно увлекался) буквально на коленках воял.
Монтеро 5 дв. 6G74.АКПП. 94 г.в.
- dvm99
- Сообщения: 21743
- Зарегистрирован: 21 май 2012, 20:59
- Двигатель:: 6G72, 12клап.,
- Мой автомобиль(и):: Pajero2, Запорожец- Ланос
- Откуда: Свердловская обл.
- Благодарил (а): 706 раз
- Поблагодарили: 1028 раз
Re: Поршневые кольца (снятие-установка)
Не... меня то, что было не совсем устраивало, в общем-то отечественное почти всё прошло через мои руки в плане ремонтов, включая трёхмоторки. За базу конечно брал что-то фабричное, оставлял только шасси и какие-нибудь элементы типа тон-вала, остальное городил сам: электромеханику с моторчиками и магнитами, управление на дискретной логике, ну и аналоговую часть.
Ладно, немного от темы оторвались. А у меня ещё есть один момент по кольцам не совсем ясный. Хотел дождаться, пока новые прибудут, чтобы с ним сравнить, да что-то не получается их пока забрать с экзиста.
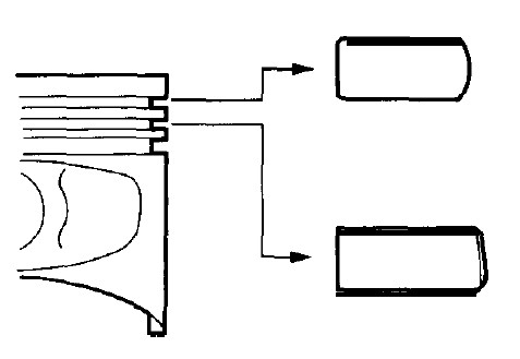
По мануалу профиль колец должен выглядеть вот так: Мои все примерно одинаковые и в таком состоянии:
След выработки профиля ввиден отчётливо, но не имея опыта общения с кольцами, мне оценить состояние по внешнему виду сложновато. А поскольку в моторе гильзы, то мне так кажется, что только одного зазора в кольцах для оценки маловато. Компрессионные по моему мнению вроде находятся на середине своего ресурса при зазорах в замках в среднем 0,45 . Но больше всего интересно узнать про маслосъёмные. Я думал, что они сношены окончательно, раз зазоры где-то 1,2, но когда сфоткал в макрорежиме и увидел вроде как остатки скруглённого участка профиля, что-то призадумался.
Кольца стандартного размера, на компрессионных указана одна буква R без цифр.
Ладно, немного от темы оторвались. А у меня ещё есть один момент по кольцам не совсем ясный. Хотел дождаться, пока новые прибудут, чтобы с ним сравнить, да что-то не получается их пока забрать с экзиста.
По мануалу профиль колец должен выглядеть вот так: Мои все примерно одинаковые и в таком состоянии:
След выработки профиля ввиден отчётливо, но не имея опыта общения с кольцами, мне оценить состояние по внешнему виду сложновато. А поскольку в моторе гильзы, то мне так кажется, что только одного зазора в кольцах для оценки маловато. Компрессионные по моему мнению вроде находятся на середине своего ресурса при зазорах в замках в среднем 0,45 . Но больше всего интересно узнать про маслосъёмные. Я думал, что они сношены окончательно, раз зазоры где-то 1,2, но когда сфоткал в макрорежиме и увидел вроде как остатки скруглённого участка профиля, что-то призадумался.
Кольца стандартного размера, на компрессионных указана одна буква R без цифр.
Дмитрий
Боливар2 - П2, 92г., V43, 6G72(12V), V4AW2, RD/L, пруль (чистокровный японский рысак)
Боливар1 - П2, 93г., 6G72(12V), МКПП, V43, RD/L, Европа (славный был конь, но уже донор)
Боливар2 - П2, 92г., V43, 6G72(12V), V4AW2, RD/L, пруль (чистокровный японский рысак)
Боливар1 - П2, 93г., 6G72(12V), МКПП, V43, RD/L, Европа (славный был конь, но уже донор)
- Unklown
- Сообщения: 2637
- Зарегистрирован: 18 дек 2012, 05:48
- Двигатель:: 6G74, SOHC бензин, газ
- Мой автомобиль(и):: MONTERO SPORT[K99W ] [GRXEL2M ]
- Откуда: Алтай
- Благодарил (а): 2 раза
- Поблагодарили: 101 раз
Re: Поршневые кольца (снятие-установка)
Не выработки ,а приработки.dvm99 писал(а): След выработки профиля ввиден отчётливо,
У новых колец такой профиль специально, чтоб скорей притёрлись.
У колец помимо обеспечения компрессии есть еще 1на не менее важная миссия- отвод тепла от пошня на цилиндр.
А много ли отведёшь ч.з. точечный контакт?
Именно поэтому новые движки и после ремонта с заменой колец, надо обкатывать.
- dvm99
- Сообщения: 21743
- Зарегистрирован: 21 май 2012, 20:59
- Двигатель:: 6G72, 12клап.,
- Мой автомобиль(и):: Pajero2, Запорожец- Ланос
- Откуда: Свердловская обл.
- Благодарил (а): 706 раз
- Поблагодарили: 1028 раз
Re: Поршневые кольца (снятие-установка)
Ну хорошо, это я так понимаю, компрессионных касается. А что с маслосьёмными? Больше-то они беспокоят. И почему они сносились, а компрессионные только приработались?
Дмитрий
Боливар2 - П2, 92г., V43, 6G72(12V), V4AW2, RD/L, пруль (чистокровный японский рысак)
Боливар1 - П2, 93г., 6G72(12V), МКПП, V43, RD/L, Европа (славный был конь, но уже донор)
Боливар2 - П2, 92г., V43, 6G72(12V), V4AW2, RD/L, пруль (чистокровный японский рысак)
Боливар1 - П2, 93г., 6G72(12V), МКПП, V43, RD/L, Европа (славный был конь, но уже донор)
-
andreyU-I
- Сообщения: 22
- Зарегистрирован: 13 май 2012, 07:32
- Двигатель:: 6G72 24valve
- Мой автомобиль(и):: Pajero III 04г.
Re: Поршневые кольца (снятие-установка)
dvm99 скажи какой размер колец ? интересует толщина. судя по фото у меня точно такие же, 1 и 2 одинаковые по толщине. я заказал
ТР 33920 std. оказалось в наборе второе компрессионное толще (1,5)...интересно в оригинале какие....вот теперь сижу и думаю где "правильные" найти...
ТР 33920 std. оказалось в наборе второе компрессионное толще (1,5)...интересно в оригинале какие....вот теперь сижу и думаю где "правильные" найти...
- ЯпонеЦ
- Сообщения: 4146
- Зарегистрирован: 20 ноя 2006, 21:33
- Двигатель:: 3VZ-E, были 4D56T, 6G72
- Мой автомобиль(и):: TOYOTA HILUX, шнорк, лебедка, км2 35х12,5х15. ММС Delica 4м40 сток пока.
- Откуда: Сочи, Адлер
- Откуда: Сочи
- Благодарил (а): 44 раза
- Поблагодарили: 182 раза
Re: Поршневые кольца (снятие-установка)
Ну ка расскажи подробнее об отводе тепла? Фаски на кольце для лучшего скольжения по стенке гильзы... Точнее по масляной пленке хона...Unklown писал(а):Не выработки ,а приработки.dvm99 писал(а): След выработки профиля ввиден отчётливо,
У новых колец такой профиль специально, чтоб скорей притёрлись.
У колец помимо обеспечения компрессии есть еще 1на не менее важная миссия- отвод тепла от пошня на цилиндр.
А много ли отведёшь ч.з. точечный контакт?
Именно поэтому новые движки и после ремонта с заменой колец, надо обкатывать.
Мой танк тут https://www.drive2.ru/r/toyota/hilux_surf/332538/
- dvm99
- Сообщения: 21743
- Зарегистрирован: 21 май 2012, 20:59
- Двигатель:: 6G72, 12клап.,
- Мой автомобиль(и):: Pajero2, Запорожец- Ланос
- Откуда: Свердловская обл.
- Благодарил (а): 706 раз
- Поблагодарили: 1028 раз
Re: Поршневые кольца (снятие-установка)
andreyU-I , у меня оба компрессионные по 1.5, поршни уже не родные, видимо отвыпуска до 1992г. поставил кто-то до меня.
Я хоть и не специалист, но у тебя в профиле паджеро3 2004г. указан, может там тоже какие-то изменения уже были. У себя-то в профильной ветке не спрашивал?
Я хоть и не специалист, но у тебя в профиле паджеро3 2004г. указан, может там тоже какие-то изменения уже были. У себя-то в профильной ветке не спрашивал?
Дмитрий
Боливар2 - П2, 92г., V43, 6G72(12V), V4AW2, RD/L, пруль (чистокровный японский рысак)
Боливар1 - П2, 93г., 6G72(12V), МКПП, V43, RD/L, Европа (славный был конь, но уже донор)
Боливар2 - П2, 92г., V43, 6G72(12V), V4AW2, RD/L, пруль (чистокровный японский рысак)
Боливар1 - П2, 93г., 6G72(12V), МКПП, V43, RD/L, Европа (славный был конь, но уже донор)
- molotok59
- Сообщения: 139
- Зарегистрирован: 28 авг 2010, 00:00
- Двигатель:: 6G72 12-кл.
- Мой автомобиль(и):: Pajero2 V23W GLS 1993г. АКПП SS R/D lock Леруль.
- Откуда: ПЕРМЬ
- Благодарил (а): 2 раза
- Поблагодарили: 12 раз
Re: Поршневые кольца (снятие-установка)
У тебя вродя родные горшки . У меня дата выпуска по ВИНу Exist выдаёт 12.92 г , кольца по ВИН и в натуре 1.2-1.5-3.0 . По Легионовской мурзилке 1.5-1.5 начали ставить с начала 93 года , хотя там без пол литры не разберёшься , сами попробуйте :dvm99 писал(а):andreyU-I , у меня оба компрессионные по 1.5, поршни уже не родные, видимо отвыпуска до 1992г. поставил кто-то до меня.
Куда ??? В сервис ??? Неет !!! Свою машину и жену в чужие руки не даю !!!
- dvm99
- Сообщения: 21743
- Зарегистрирован: 21 май 2012, 20:59
- Двигатель:: 6G72, 12клап.,
- Мой автомобиль(и):: Pajero2, Запорожец- Ланос
- Откуда: Свердловская обл.
- Благодарил (а): 706 раз
- Поблагодарили: 1028 раз
Re: Поршневые кольца (снятие-установка)
Первое компрессионное кольцо 1.5 ставилось до ноября 92-го, с декабря уже ставилось 1.2. А у меня машина 1993 г.в., но первое кольцо стоИт 1.5, должно быть такое же как у тебя, мне экзист такой же комплект как и тебе предлагал, слава богу не купил его а то бы влетел. Ну, соответственно и ширина маслосъёмных отличается. У меня они- 4, а должно быть 3 .
Всё как твоей мурзилке!
Вот замер маслосъёмных в качестве доказательства
Всё как твоей мурзилке!
Вот замер маслосъёмных в качестве доказательства
Дмитрий
Боливар2 - П2, 92г., V43, 6G72(12V), V4AW2, RD/L, пруль (чистокровный японский рысак)
Боливар1 - П2, 93г., 6G72(12V), МКПП, V43, RD/L, Европа (славный был конь, но уже донор)
Боливар2 - П2, 92г., V43, 6G72(12V), V4AW2, RD/L, пруль (чистокровный японский рысак)
Боливар1 - П2, 93г., 6G72(12V), МКПП, V43, RD/L, Европа (славный был конь, но уже донор)
- molotok59
- Сообщения: 139
- Зарегистрирован: 28 авг 2010, 00:00
- Двигатель:: 6G72 12-кл.
- Мой автомобиль(и):: Pajero2 V23W GLS 1993г. АКПП SS R/D lock Леруль.
- Откуда: ПЕРМЬ
- Благодарил (а): 2 раза
- Поблагодарили: 12 раз
Re: Поршневые кольца (снятие-установка)
Вононо чё , там две строчки местами перепутали и получилось как у нас на сайте с фотографиями
выкладываюся через ...опу , наоборот , и без поллитры никак .
А я думал что у меня машина древняя как дерьмо мамонта (мотор от П-1) , а оказывается не всё так плохо
Про магнитофоны тоже детство вспомнил , чуть слезу не пустил .
Михалыч с какого года тогда ты журнал "Радио" выписывать начал ???
выкладываюся через ...опу , наоборот , и без поллитры никак .
А я думал что у меня машина древняя как дерьмо мамонта (мотор от П-1) , а оказывается не всё так плохо
Токарный станок на работе , у нас не форум для блондинок , в парикмахерской думаю ни кто здесь не работает ...dvm99 писал(а):![]()
Вообще, Михалыч, задел за живое, можно сказать! Это моя давнишняя мечта- иметь маленький токарник. Сейчас правда уже не актуально, но лет бы этак 20-25 назад, когда механику магнитофонов (чем серьёзно увлекался) буквально на коленках воял.
Про магнитофоны тоже детство вспомнил , чуть слезу не пустил .
Михалыч с какого года тогда ты журнал "Радио" выписывать начал ???
Последний раз редактировалось molotok59 17 май 2013, 23:44, всего редактировалось 1 раз.
Куда ??? В сервис ??? Неет !!! Свою машину и жену в чужие руки не даю !!!
- dvm99
- Сообщения: 21743
- Зарегистрирован: 21 май 2012, 20:59
- Двигатель:: 6G72, 12клап.,
- Мой автомобиль(и):: Pajero2, Запорожец- Ланос
- Откуда: Свердловская обл.
- Благодарил (а): 706 раз
- Поблагодарили: 1028 раз
Re: Поршневые кольца (снятие-установка)
Хрен его знает, что за мотор у меня, но колупали его здорово. Не знаю, что от него родное, а что нет. На одной ГБЦ есть вмятина изнутри, такое впечатление, что какую-то шайбу в горшок когда-то уронили. Но на прошнях ни на одном вмятин нет. Всё же свожусь к мысли, что поршни заменены, но почему-то на более ранние, мож просто дешевле обошлось...
Дмитрий
Боливар2 - П2, 92г., V43, 6G72(12V), V4AW2, RD/L, пруль (чистокровный японский рысак)
Боливар1 - П2, 93г., 6G72(12V), МКПП, V43, RD/L, Европа (славный был конь, но уже донор)
Боливар2 - П2, 92г., V43, 6G72(12V), V4AW2, RD/L, пруль (чистокровный японский рысак)
Боливар1 - П2, 93г., 6G72(12V), МКПП, V43, RD/L, Европа (славный был конь, но уже донор)
- Владимир Михайлович
- Сообщения: 6286
- Зарегистрирован: 22 фев 2008, 20:51
- Двигатель:: 6G74
- Мой автомобиль(и):: Монтеро 94 г.в.
- Откуда: Питер
- Откуда: Санкт-Петербург
- Благодарил (а): 69 раз
- Поблагодарили: 178 раз
Re: Поршневые кольца (снятие-установка)
Я уверен, что доступ к токарному станку есть совсем не у многих. У меня был до 90 годов и доступ, и заготовки. Однако точить такую приспособу было бы лень, когда можно сделать проще.
Журналы "Радио" практически все были с 61 по 80 наверно годы. Не помню уже. Отец занимался любительством и выписывал. И конечно я их читал от корки до корки. Они интересные были. Ну а после ПТУ (70 - 73 годы) я уже профессионально занимался ремонтом бытовой телерадио...
Журналы "Радио" практически все были с 61 по 80 наверно годы. Не помню уже. Отец занимался любительством и выписывал. И конечно я их читал от корки до корки. Они интересные были. Ну а после ПТУ (70 - 73 годы) я уже профессионально занимался ремонтом бытовой телерадио...
Монтеро 5 дв. 6G74.АКПП. 94 г.в.
- dvm99
- Сообщения: 21743
- Зарегистрирован: 21 май 2012, 20:59
- Двигатель:: 6G72, 12клап.,
- Мой автомобиль(и):: Pajero2, Запорожец- Ланос
- Откуда: Свердловская обл.
- Благодарил (а): 706 раз
- Поблагодарили: 1028 раз
Re: Поршневые кольца (снятие-установка)
Значит с ламп начал? А я наоборот- к ним пришёл
.
Станок у меня тоже раньше на работе был, но предприятие режимное, а в кармане много не вынесешь.
Станок у меня тоже раньше на работе был, но предприятие режимное, а в кармане много не вынесешь.
Дмитрий
Боливар2 - П2, 92г., V43, 6G72(12V), V4AW2, RD/L, пруль (чистокровный японский рысак)
Боливар1 - П2, 93г., 6G72(12V), МКПП, V43, RD/L, Европа (славный был конь, но уже донор)
Боливар2 - П2, 92г., V43, 6G72(12V), V4AW2, RD/L, пруль (чистокровный японский рысак)
Боливар1 - П2, 93г., 6G72(12V), МКПП, V43, RD/L, Европа (славный был конь, но уже донор)
