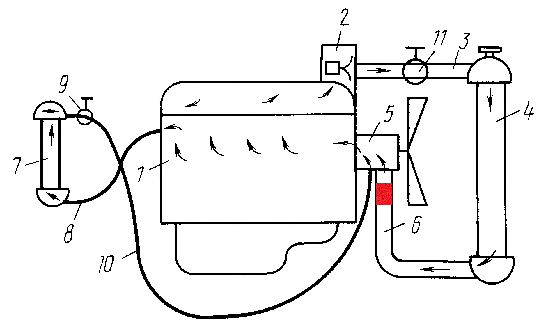
Где на твоём рисунке термостат, и как этот рисунок относится к 56-му мотору?Dizel Man писал(а): ↑ При нормально работающем термостате, верхний патрубок всегда горячий, а нижний холодный/теплый. Когда газы скапливаются в точке 11, происходит закупоривание контура, и ток жидкости останавливается. Ее движение идет по малому контуру и мотор начинает кипеть. Демонтаж резинового уплотнения пробки позволяет весьма долго (можно доехать до ремзоны) эксплуатировать двигатель без "убиения" ГБЦ...
Гбц? Прокладка? Турбина? Завоздушивает систему охлаждения.
Модераторы: SNOOPER, Nbf, Romik, BAlex, drcham, алексей - Маленький Мук, DenVer, Алекс
- SNOOPER
- Модератор
- Сообщения: 56938
- Зарегистрирован: 11 дек 2004, 19:49
- Двигатель:: 4D56
- Мой автомобиль(и):: NewMPS
- Откуда: 78
- Откуда: Spb
- Благодарил (а): 1007 раз
- Поблагодарили: 4675 раз
Гбц? Прокладка? Турбина? Завоздушивает систему охлаждения.
- Dizel Man
- Сообщения: 5297
- Зарегистрирован: 16 янв 2005, 13:23
- Двигатель:: 4М41
- Мой автомобиль(и):: Mitsubishi Pajero 3, TLC-60, TLC-78, IFA W50
- Откуда: МО, Мытищи
- Откуда: Мытищи МО
- Благодарил (а): 10 раз
- Поблагодарили: 223 раза
Гбц? Прокладка? Турбина? Завоздушивает систему охлаждения.
Приехали... Доброе утро.... Не в моем рисунке, термостат имеет "циферку" два... Это общепринятая система тока жидкости в двигателях внутреннего сгорания...




Есть еще такая инфа, тоже толковая...
https://www.drive2.com/l/527466790121374147/
У тебя интернет низкоскоростной?




Есть еще такая инфа, тоже толковая...
https://www.drive2.com/l/527466790121374147/
У тебя интернет низкоскоростной?
Последний раз редактировалось Dizel Man 12 дек 2020, 12:42, всего редактировалось 3 раза.
С уважением, Сергей. Все что мной написано исключительно ИМХО, наработанное годами творческих экспериментов!!!
- SNOOPER
- Модератор
- Сообщения: 56938
- Зарегистрирован: 11 дек 2004, 19:49
- Двигатель:: 4D56
- Мой автомобиль(и):: NewMPS
- Откуда: 78
- Откуда: Spb
- Благодарил (а): 1007 раз
- Поблагодарили: 4675 раз
Гбц? Прокладка? Турбина? Завоздушивает систему охлаждения.
Повторяю хватит бредить.
Термостат на 56-м моторе стоит на выходе из радиатора, снизу двигателя.
И циркуляция идёт снизу вверх, как и на твоём рисунке, если ты глаза откроешь.
Кстати парень на драйве правильно написал.
На твоей схеме чтоб её можно было проецировать на 56-й мотор термостат установлен должен быть в месте отмеченном красным. Ну схема движения жидкости от производителя. Красным отметил куда не может идти поток при закрытом термостате.
- Dizel Man
- Сообщения: 5297
- Зарегистрирован: 16 янв 2005, 13:23
- Двигатель:: 4М41
- Мой автомобиль(и):: Mitsubishi Pajero 3, TLC-60, TLC-78, IFA W50
- Откуда: МО, Мытищи
- Откуда: Мытищи МО
- Благодарил (а): 10 раз
- Поблагодарили: 223 раза
Гбц? Прокладка? Турбина? Завоздушивает систему охлаждения.
Система охлаждения в автомобиле имеет два круга циркуляции: большой и малый. Основным считается именно малый, поскольку при запуске агрегата по нему сразу же начинает циркулировать охлаждающая жидкость. В работе малого круга задействованы только каналы блока цилиндров, помпа, а также радиатор отопления салона. Циркуляция проходит по малому кругу до тех пор, пока ДВС не достигнет нормальной рабочей температуры, после чего срабатывает термостат и открывает большой круг. Благодаря такой системе прогрев двигателя значительно сокращается, а в зимнюю пору система не столько охлаждает агрегат, сколько поддерживает его нормальный температурный режим. В работе большого круга задействованы вентилятор, радиатор охлаждения, впускные и выпускные каналы, термостат, расширительный бочок, а также те элементы, которые принимают участие в функционировании малого круга. Внешний круг, он же большой круг, начинает работать, когда температура охлаждающей жидкости достигает 80-90оС, и обеспечивает её охлаждение.
https://avtofirst.ru/sistema-ohlazhdeni ... telya.html

На схеме от производителя жидкость двигается сверху вниз. Нет двигателей, у которых ток ОЖ обратный, это нонсенс. Выплюнь удила, ты их слишком сильно закусил. Давай остановимся, тема не про наши познания, а про проблему у человека с не дующей печкой.
https://avtofirst.ru/sistema-ohlazhdeni ... telya.html

На схеме от производителя жидкость двигается сверху вниз. Нет двигателей, у которых ток ОЖ обратный, это нонсенс. Выплюнь удила, ты их слишком сильно закусил. Давай остановимся, тема не про наши познания, а про проблему у человека с не дующей печкой.
С уважением, Сергей. Все что мной написано исключительно ИМХО, наработанное годами творческих экспериментов!!!
- SNOOPER
- Модератор
- Сообщения: 56938
- Зарегистрирован: 11 дек 2004, 19:49
- Двигатель:: 4D56
- Мой автомобиль(и):: NewMPS
- Откуда: 78
- Откуда: Spb
- Благодарил (а): 1007 раз
- Поблагодарили: 4675 раз
Гбц? Прокладка? Турбина? Завоздушивает систему охлаждения.
Ты думаешь я просто так зацепился за сверху вниз?
Помпа качает снизу вверх, и никак иначе.
А вот в радиаторе поток сверху вниз. На спорте и люсе с лева на право.
Ты уж определись кто на ком стоял....
И хватит сюда нести картинки не относящиеся к теме.
А решение проблемы с не дующей печкой на спорте я выложил на прошлой странице, человеку осталось проверить.
- Dizel Man
- Сообщения: 5297
- Зарегистрирован: 16 янв 2005, 13:23
- Двигатель:: 4М41
- Мой автомобиль(и):: Mitsubishi Pajero 3, TLC-60, TLC-78, IFA W50
- Откуда: МО, Мытищи
- Откуда: Мытищи МО
- Благодарил (а): 10 раз
- Поблагодарили: 223 раза
Гбц? Прокладка? Турбина? Завоздушивает систему охлаждения.
Выкрутился, молодец!!!

Человеку нужно просто резинку на пробке снять, и все встанет на свои места. Саш, давай агрессии поменьше...А решение проблемы с не дующей печкой на спорте я выложил на прошлой странице, человеку осталось проверить.
С уважением, Сергей. Все что мной написано исключительно ИМХО, наработанное годами творческих экспериментов!!!
- SNOOPER
- Модератор
- Сообщения: 56938
- Зарегистрирован: 11 дек 2004, 19:49
- Двигатель:: 4D56
- Мой автомобиль(и):: NewMPS
- Откуда: 78
- Откуда: Spb
- Благодарил (а): 1007 раз
- Поблагодарили: 4675 раз
Гбц? Прокладка? Турбина? Завоздушивает систему охлаждения.
Ты о чём? Кто выкручивался? Или ты про себя.
Так чтоб таких казусов не было, внимательнее читай и выражайся понятливее.
Только внятно, и по буквам.
Так чтоб таких казусов не было, внимательнее читай и выражайся понятливее.
Какую резинку и на какой пробке?
Только внятно, и по буквам.
- Dizel Man
- Сообщения: 5297
- Зарегистрирован: 16 янв 2005, 13:23
- Двигатель:: 4М41
- Мой автомобиль(и):: Mitsubishi Pajero 3, TLC-60, TLC-78, IFA W50
- Откуда: МО, Мытищи
- Откуда: Мытищи МО
- Благодарил (а): 10 раз
- Поблагодарили: 223 раза
Гбц? Прокладка? Турбина? Завоздушивает систему охлаждения.
И еще добавлю. Помпа качает в блок, а оттуда в верхнюю точку радиатора. Забирает ОЖ, она, с нижней точки радиатора. А где стоит термостат, то есть клапан перекрывающий поток большого круга, определяется только конструкцией двигателя. Сделано это для того, чтобы плотность/температура носителя была одинаковой по всей площади радиатора, для максимальной его эффективности... 
С уважением, Сергей. Все что мной написано исключительно ИМХО, наработанное годами творческих экспериментов!!!
- Dizel Man
- Сообщения: 5297
- Зарегистрирован: 16 янв 2005, 13:23
- Двигатель:: 4М41
- Мой автомобиль(и):: Mitsubishi Pajero 3, TLC-60, TLC-78, IFA W50
- Откуда: МО, Мытищи
- Откуда: Мытищи МО
- Благодарил (а): 10 раз
- Поблагодарили: 223 раза
Гбц? Прокладка? Турбина? Завоздушивает систему охлаждения.
Уплотняющую резинку клапана пробки радиатора, вне зависимости от того, где данный клапан расположен. На радиаторе или на расширительном бачке, значения не имеет. Задача, разгерметизировать систему, любым доступным способом, хоть клапан у пробки отпилить или просто пробку не закрутить.
С уважением, Сергей. Все что мной написано исключительно ИМХО, наработанное годами творческих экспериментов!!!
- SNOOPER
- Модератор
- Сообщения: 56938
- Зарегистрирован: 11 дек 2004, 19:49
- Двигатель:: 4D56
- Мой автомобиль(и):: NewMPS
- Откуда: 78
- Откуда: Spb
- Благодарил (а): 1007 раз
- Поблагодарили: 4675 раз
Гбц? Прокладка? Турбина? Завоздушивает систему охлаждения.
Ты что блин реально не знаешь устройство системы охлаждения автомобилей митцу а в частности 56-го и 41-го моторов или прикалываешься?Dizel Man писал(а): ↑ И еще добавлю. Помпа качает в блок, а оттуда в верхнюю точку радиатора. Забирает ОЖ, она, с нижней точки радиатора. А где стоит термостат, то есть клапан перекрывающий поток большого круга, определяется только конструкцией двигателя. Сделано это для того, чтобы плотность/температура носителя была одинаковой по всей площади радиатора, для максимальной его эффективности...
Если это прикол, то во первых не умно, так как выставляешь себя не в очень хорошем свете.
А если не знаешь, то ......... Это ещё хуже.
И на твоём месте тогда лучше изучить устройство конкретных двигателей. И по крайней мере не нести больше чуши, хоть сойдёшь за умного.
А вот это совет даже не дилетанта, а вредителя.Dizel Man писал(а): ↑ Уплотняющую резинку клапана пробки радиатора, вне зависимости от того, где данный клапан расположен. На радиаторе или на расширительном бачке, значения не имеет. Задача, разгерметизировать систему, любым доступным способом, хоть клапан у пробки отпилить или просто пробку не закрутить.
Ты предлагаешь человеку зажарить мотор, кули мучатся.......
- SNOOPER
- Модератор
- Сообщения: 56938
- Зарегистрирован: 11 дек 2004, 19:49
- Двигатель:: 4D56
- Мой автомобиль(и):: NewMPS
- Откуда: 78
- Откуда: Spb
- Благодарил (а): 1007 раз
- Поблагодарили: 4675 раз
Гбц? Прокладка? Турбина? Завоздушивает систему охлаждения.
Крышка должна быть на 1.3
Это сместит точку кипения на более высокую температуру, и как следствие образование "волшебных пузырьков".
У Вас есть что либо для мониторинга температуры двигателя в реальном времени?
Если нет, то обязательно установите. По мне самое удобное это мультитроникс,
-
NetKiller
- Сообщения: 68
- Зарегистрирован: 11 дек 2020, 02:12
- Двигатель:: 4D56
- Мой автомобиль(и):: Pajero Sport
- Откуда: Novorossiysk
- Благодарил (а): 11 раз
- Поблагодарили: 1 раз
Гбц? Прокладка? Турбина? Завоздушивает систему охлаждения.
Спасибо вам за помощь, сразу первых признаков перегрева (по датчику на приборке и выплеску антифриза из РБ) машину не эксплуатировал особо , только тесты в сервисе.
Сейчас решил поставить штатный радиатор с вискомуфтой новой, и крышку как на картинке выше. Завести машину и проверить газоанализатором, дальше будет видно , если газов не будет то убрать теплообменник и проверить турбину.
Печка кстати то грела то не грела. Патрубок верхний в основном горячий был, а вот который по большому кругу к печке (за движком) холодный
Сейчас решил поставить штатный радиатор с вискомуфтой новой, и крышку как на картинке выше. Завести машину и проверить газоанализатором, дальше будет видно , если газов не будет то убрать теплообменник и проверить турбину.
Печка кстати то грела то не грела. Патрубок верхний в основном горячий был, а вот который по большому кругу к печке (за движком) холодный
-
NetKiller
- Сообщения: 68
- Зарегистрирован: 11 дек 2020, 02:12
- Двигатель:: 4D56
- Мой автомобиль(и):: Pajero Sport
- Откуда: Novorossiysk
- Благодарил (а): 11 раз
- Поблагодарили: 1 раз
Гбц? Прокладка? Турбина? Завоздушивает систему охлаждения.
ага я об этом подумал сразу, надо поставить
- SNOOPER
- Модератор
- Сообщения: 56938
- Зарегистрирован: 11 дек 2004, 19:49
- Двигатель:: 4D56
- Мой автомобиль(и):: NewMPS
- Откуда: 78
- Откуда: Spb
- Благодарил (а): 1007 раз
- Поблагодарили: 4675 раз
Гбц? Прокладка? Турбина? Завоздушивает систему охлаждения.
Печка холодная, газы в системе.NetKiller писал(а): ↑ Сейчас решил поставить штатный радиатор с вискомуфтой новой, и крышку как на картинке выше. Завести машину и проверить газоанализатором, дальше будет видно , если газов не будет то убрать теплообменник и проверить турбину.
Печка кстати то грела то не грела. Патрубок верхний в основном горячий был, а вот который по большому кругу к печке (за движком) холодный
Я это всё прошел в 15-ом году.
И вин жду.)
- SNOOPER
- Модератор
- Сообщения: 56938
- Зарегистрирован: 11 дек 2004, 19:49
- Двигатель:: 4D56
- Мой автомобиль(и):: NewMPS
- Откуда: 78
- Откуда: Spb
- Благодарил (а): 1007 раз
- Поблагодарили: 4675 раз
Гбц? Прокладка? Турбина? Завоздушивает систему охлаждения.
Ответил в личке.
Ну и здесь продублирую. Сервисная у Вас выполнена на заводе.
Но пробка нужна только на 1.3 бар.
Ну и здесь продублирую. Сервисная у Вас выполнена на заводе.
Но пробка нужна только на 1.3 бар.
