Приезжай в Минск, я вчера нашёл спеца с изготовленным ключиком. Регулировали через верх, заняло 2 часа времени. Результатом я доволен.Makarov Igor писал(а):Дружище, Питер к нам ближе!Human писал(а):Нашел сервис в Москве??? Поделись контактом если нашел!!!Makarov Igor писал(а):Дык, в Москве хто-нить рейки то регулирует? Дайте наводочку на неоф. сервис...
Или в Читу придется ехать рейку регулировать?![]()
Нет, никто так и не откликнулся...
TRT - Вдоль р.Киржач. Для стандартных 4х4 (08.11.25) Форум Обсуждение FAQ
Избавился от бряканья в рулевой рейке...
Модераторы: SNOOPER, Nbf, Romik, BAlex, drcham, DenVer, SoundSpeed
-
den73
- Сообщения: 52
- Зарегистрирован: 27 июл 2010, 15:18
- Двигатель:: 3.5 Бензин (6G74)
- Мой автомобиль(и):: Паджеро IV - 2010; VW TIGUAN - 2013
- Откуда: Минск
- Откуда: Минск
- Благодарил (а): 1 раз
Re: Избавился от бряканья в рулевой рейке...
-
Makarov Igor
- Сообщения: 265
- Зарегистрирован: 02 фев 2011, 14:49
- Двигатель:: 6G72, бензин
- Мой автомобиль(и):: Pajero IV
- Благодарил (а): 2 раза
- Поблагодарили: 4 раза
Re: Избавился от бряканья в рулевой рейке...
Спасибо за приглашение 
Я у вас там в Соснах служил, интересно было бы взглянуть, как там все сейчас.
Контактик спеца дадите? Может быть и заскочу...
Я у вас там в Соснах служил, интересно было бы взглянуть, как там все сейчас.
Контактик спеца дадите? Может быть и заскочу...
Re: Избавился от бряканья в рулевой рейке...
Закиньте и мне адресок -товарищ страдает!
П3 3.2 2001 NAVI штатная зап.евр. вебасто. - был
п4 3.2 2008 фантом .люк. араб. нокиан ратива R17 салон беж. коню- 157 000км
п4 3.2 2008 фантом .люк. араб. нокиан ратива R17 салон беж. коню- 157 000км
-
den73
- Сообщения: 52
- Зарегистрирован: 27 июл 2010, 15:18
- Двигатель:: 3.5 Бензин (6G74)
- Мой автомобиль(и):: Паджеро IV - 2010; VW TIGUAN - 2013
- Откуда: Минск
- Откуда: Минск
- Благодарил (а): 1 раз
Re: Избавился от бряканья в рулевой рейке...
Смотри в личкеандрей70 писал(а):Закиньте и мне адресок -товарищ страдает!
- BALTIKA
- Сообщения: 121
- Зарегистрирован: 15 мар 2011, 23:00
- Двигатель:: 6G72
- Мой автомобиль(и):: Падж4, Туарег
- Откуда: рядом с Питером
- Благодарил (а): 10 раз
- Поблагодарили: 5 раз
Re: Избавился от бряканья в рулевой рейке...
Вопрос про спец ключ. Пишут про гайку на 27. Это М27--ключ на 41? Или гайка под ключ на 27-- гайка М18?
-
dolgopol249
- Сообщения: 6
- Зарегистрирован: 03 мар 2012, 11:27
- Двигатель:: 4M41U
- Мой автомобиль(и):: П3 продан, П4 куплен
- Поблагодарили: 3 раза
Re: Избавился от бряканья в рулевой рейке...
Сегодня подтянул рейку. Вместе с изготовлением ключа времени ушло полтора часа. Рейка откручивается с одного конца двумя ключами на 17. Один ключ прямой, другим к верхнему болту не подлезть.Рейка отжимается монтажкой. Открывается доступ к месту регулировки. Зубилом делается насечка на контрящей гайке, а дальнейшее отворачивание лучше производить не острым инструментом так как гайка сделана из мягкого материала и ее можно перерубить. К гайке под ключ на 27 или к шестиграннику на27 толщиной 6-7 мм приваривается полоска металла которая подгибается по месту у основания приваренной гайки. Подтянув пробку можно затянуть нижний болт рейки и проверить на стук рулем. Я затягивал три раза. Обратно контргайку лучше прикрутить с герметиком. Наживление гайки было самым долгим процессом.
- Teddybearr
- Сообщения: 5109
- Зарегистрирован: 27 апр 2008, 16:42
- Двигатель:: 4m41 ТрубоДъзль
- Мой автомобиль(и):: Pajero
- Откуда: Ленинград
- Благодарил (а): 13 раз
- Поблагодарили: 86 раз
Re: Избавился от бряканья в рулевой рейке...
Поколхозил, починил, рассказал.
Все классно, чем больше информации, тем лучше, можно будет составить конкретное понимание.
Все классно, чем больше информации, тем лучше, можно будет составить конкретное понимание.
Есть вопросы по Четверке? Идите в F.A.Q.!
-
dolgopol249
- Сообщения: 6
- Зарегистрирован: 03 мар 2012, 11:27
- Двигатель:: 4M41U
- Мой автомобиль(и):: П3 продан, П4 куплен
- Поблагодарили: 3 раза
Re: Избавился от бряканья в рулевой рейке...
Свой личный опыт ни в коем случае не рекомендую как руководство к действию.
Объясняю.
1. Регулировка сверху мной не рассматривалась так как для меня удобней работать стоя в яме чем стоя раком и елозя по отполированной машине и еще у меня короткие руки, а целиться метровым зубилом в гайку думаю не очень удобно.
2. Пока ослаблял гайку зубилом и отверткой она превратилась в розочку. Снял чтобы придать ей вид гайки на наждаке. Потому что люблю когда розы это розы, а гайки это гайки. Снял чтобы замерить для изготовления ключа. Снял чтобы намазать герметиком так как сорванный держать не будет.
3. Для чего добрые люди создают подобные форумы?
Итог.
Если Вы нашли способ выбора единственно правильного решения то займитесь доработкой теории относительности.
Объясняю.
1. Регулировка сверху мной не рассматривалась так как для меня удобней работать стоя в яме чем стоя раком и елозя по отполированной машине и еще у меня короткие руки, а целиться метровым зубилом в гайку думаю не очень удобно.
2. Пока ослаблял гайку зубилом и отверткой она превратилась в розочку. Снял чтобы придать ей вид гайки на наждаке. Потому что люблю когда розы это розы, а гайки это гайки. Снял чтобы замерить для изготовления ключа. Снял чтобы намазать герметиком так как сорванный держать не будет.
3. Для чего добрые люди создают подобные форумы?
Итог.
Если Вы нашли способ выбора единственно правильного решения то займитесь доработкой теории относительности.
-
dolgopol249
- Сообщения: 6
- Зарегистрирован: 03 мар 2012, 11:27
- Двигатель:: 4M41U
- Мой автомобиль(и):: П3 продан, П4 куплен
- Поблагодарили: 3 раза
Re: Избавился от бряканья в рулевой рейке...
Всем спасибо за поддержку.
Считаю что хвастаться особо нечем но если пригодится кому ни будь будет приятно.
Считаю что хвастаться особо нечем но если пригодится кому ни будь будет приятно.
-
bvs
- Сообщения: 76
- Зарегистрирован: 10 янв 2009, 04:40
- Откуда: СПб
- Благодарил (а): 3 раза
- Поблагодарили: 3 раза
Re: Избавился от бряканья в рулевой рейке...
Если не сложно, подскажите размеры, чтобы не портить гайку зубилом.dolgopol249 писал(а):Снял чтобы замерить для изготовления ключа.
PIV
-
dolgopol249
- Сообщения: 6
- Зарегистрирован: 03 мар 2012, 11:27
- Двигатель:: 4M41U
- Мой автомобиль(и):: П3 продан, П4 куплен
- Поблагодарили: 3 раза
Re: Избавился от бряканья в рулевой рейке...
По граням гайка 49. Ключ нужен тонкий подогнутый на 50. В природе может и существуют, но я не встречал.У меня есть возможность изготовления. Руки дойдут, сделаю, выложу фото.
-
bvs
- Сообщения: 76
- Зарегистрирован: 10 янв 2009, 04:40
- Откуда: СПб
- Благодарил (а): 3 раза
- Поблагодарили: 3 раза
Re: Избавился от бряканья в рулевой рейке...
Спасибо. Уже один раз регулировал, поэтому примерно представляю какой он нужен, просто забыл замерить контрящую гайку.dolgopol249 писал(а):По граням гайка 49. Ключ нужен тонкий подогнутый на 50. В природе может и существуют, но я не встречал.У меня есть возможность изготовления. Руки дойдут, сделаю, выложу фото.
PIV
-
Fedot
- Сообщения: 404
- Зарегистрирован: 14 дек 2005, 16:28
- Откуда: Урал
- Благодарил (а): 5 раз
- Поблагодарили: 6 раз
Re: Избавился от бряканья в рулевой рейке...
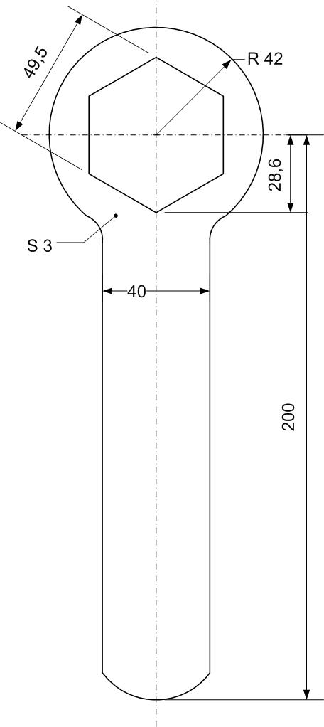
Поскольку у меня тоже постукивает рейка, озаботился изготовлением ключа. Шестигранник сделан размером 49,5.
В конце недели будут "натурные испытания", то есть собственно попытка применить ключ по назначению
В конце недели будут "натурные испытания", то есть собственно попытка применить ключ по назначению
Pajero-IV, 2006 г., 5 дверный, 3,8 бензин
- Teddybearr
- Сообщения: 5109
- Зарегистрирован: 27 апр 2008, 16:42
- Двигатель:: 4m41 ТрубоДъзль
- Мой автомобиль(и):: Pajero
- Откуда: Ленинград
- Благодарил (а): 13 раз
- Поблагодарили: 86 раз
Re: Избавился от бряканья в рулевой рейке...
Антересно! Потом Тех данные скиньFedot писал(а):Поскольку у меня тоже постукивает рейка, озаботился изготовлением ключа. Шестигранник сделан размером 49,5.
В конце недели будут "натурные испытания", то есть собственно попытка применить ключ по назначению
Есть вопросы по Четверке? Идите в F.A.Q.!
-
Fedot
- Сообщения: 404
- Зарегистрирован: 14 дек 2005, 16:28
- Откуда: Урал
- Благодарил (а): 5 раз
- Поблагодарили: 6 раз
Re: Избавился от бряканья в рулевой рейке...
Тех. данные ключа? Делался вот по таким размерам. Но, как изначально оговаривалось с мастером, который будет откручивать-закручивать гайку, изгиб в плоскости ключа и необходимое удлинение рукоятки будет делаться на месте.
Pajero-IV, 2006 г., 5 дверный, 3,8 бензин
- Teddybearr
- Сообщения: 5109
- Зарегистрирован: 27 апр 2008, 16:42
- Двигатель:: 4m41 ТрубоДъзль
- Мой автомобиль(и):: Pajero
- Откуда: Ленинград
- Благодарил (а): 13 раз
- Поблагодарили: 86 раз
Re: Избавился от бряканья в рулевой рейке...
Спасибо! Будем ждать испытаний.Fedot писал(а):Тех. данные ключа? Делался вот по таким размерам. Но, как изначально оговаривалось с мастером, который будет откручивать-закручивать гайку, изгиб в плоскости ключа и необходимое удлинение рукоятки будет делаться на месте.
Есть вопросы по Четверке? Идите в F.A.Q.!
-
Fedot
- Сообщения: 404
- Зарегистрирован: 14 дек 2005, 16:28
- Откуда: Урал
- Благодарил (а): 5 раз
- Поблагодарили: 6 раз
Re: Избавился от бряканья в рулевой рейке...
Ну что, небольшой отчетец.
Рейку мне вчера подтянули !
Ключ растачивали до 50 мм. Т.е. 49,5 - мало ! (Это кто будет изготавливать).
Изогнули в плоскости "ступенькой", т.е. теперь плоскость ручки примерно на 15 мм. отстоит от плоскости кольца с вырезанным шестигранником.
Работы все делали снизу, так, как описано у dolgopol249
Плюс (со слов мастера) - возможность работать "короткими" ключами. Минус - необходимость крепить рейку перед каждой проверкой.
Рейку мне вчера подтянули !
Ключ растачивали до 50 мм. Т.е. 49,5 - мало ! (Это кто будет изготавливать).
Изогнули в плоскости "ступенькой", т.е. теперь плоскость ручки примерно на 15 мм. отстоит от плоскости кольца с вырезанным шестигранником.
Работы все делали снизу, так, как описано у dolgopol249
Плюс (со слов мастера) - возможность работать "короткими" ключами. Минус - необходимость крепить рейку перед каждой проверкой.
Pajero-IV, 2006 г., 5 дверный, 3,8 бензин
- Губернатор
- Сообщения: 2706
- Зарегистрирован: 27 фев 2012, 15:54
- Двигатель:: 6G72
- Мой автомобиль(и):: PAJERO-4
- Откуда: Хабаровск
- Откуда: Сев.Сахалин-Хабаровск
- Благодарил (а): 46 раз
- Поблагодарили: 107 раз
Re: Избавился от бряканья в рулевой рейке...
Подтверждаю,действительно все так как описал Fedot.Работы на час не более и то если сам и лежа под машиной,как делал я.Только вместо такого ключа я использовал,вроде трубный называется с гайкой на одном конце,для развода "губок" ключа.Узкий,маленький (см.30),германского производства.Трудностей не каких,самое главное хороший набор ключей и руки из плечьFedot писал(а):Ну что, небольшой отчетец.
Рейку мне вчера подтянули !
Ключ растачивали до 50 мм. Т.е. 49,5 - мало ! (Это кто будет изготавливать).
Изогнули в плоскости "ступенькой", т.е. теперь плоскость ручки примерно на 15 мм. отстоит от плоскости кольца с вырезанным шестигранником.
Работы все делали снизу, так, как описано у dolgopol249
Плюс (со слов мастера) - возможность работать "короткими" ключами. Минус - необходимость крепить рейку перед каждой проверкой.
"Водитель-самый опасный узел машины"
(Виталий) 891Ч7729610
(Виталий) 891Ч7729610
-
дмитрий И.
- Сообщения: 51
- Зарегистрирован: 18 сен 2008, 16:37
- Откуда: МОСКВА
- Благодарил (а): 1 раз
