TRT "107-108" Для стандарта и не только! (4.04.2026) Форум Обсуждение FAQ
П3 гул - резина? Редуктор? Кардан?
Модераторы: SNOOPER, Nbf, Romik, BAlex, drcham, DenVer
-
ДМИТРИЙ 618
- Сообщения: 1900
- Зарегистрирован: 12 сен 2013, 20:06
- Двигатель:: 6G74GDI
- Мой автомобиль(и):: PAJERO 3
- Откуда: ПРОТВИНО
- Благодарил (а): 34 раза
- Поблагодарили: 64 раза
Re: П3 гул - резина? Редуктор? Кардан?
Дык и я о том,что экзотическим маслом можно не заморачиваться.Как планируешь дальше разбираться? Новый вал,наверно,дороже хорошей раздатки бу.
- hc2hunter
- Сообщения: 7271
- Зарегистрирован: 03 фев 2013, 14:29
- Двигатель:: 6G74 MPI
- Мой автомобиль(и):: Montero 3 Limited, 2001
- Откуда: Смоленск
- Благодарил (а): 484 раза
- Поблагодарили: 466 раз
Re: П3 гул - резина? Редуктор? Кардан?
Послушаю совета мудрецов для начала.Как планируешь дальше разбираться? Новый вал,наверно,дороже хорошей раздатки бу.
Но похоже все-таки идет к замене раздатки дело. Нюанс тут только еще в том, что не известно в каком состоянии достанется втулка хвостовика и шлицы выходного вала в контрактной раздатке.
Если бы знать точно, что у меня раздатка в порядке, а поет именно баббит и шлицы - можно было бы задумываться о замене только этих деталей. Но в данном вопросе общественность склонна к тому, что втулка может быть убита в хлам, а гула не будет. Это и "да" и "нет", т.к. реальных критериев никто не знает. На Pajero-2 ребята меняли эти детали и избавлялись от шумов и вибраций, но там и вилка иначе устроена и задний диф подвижный. В общем, физика несколько иная.
Ну и еще тот момент, что до прогрева гула нет. Однако это применимо и к потрохам раздатки и к хвостовику, т.к. в нем тоже масло кое-как циркулирует. А от трения во втулке еще и наверняка хорошо греется.
Ну а насчет более густого масла ты не прав. Оно бузусловно сократит зазоры и как следствие уменьшит или вообще уберет гул. Но это в любом случае не мера по устранению проблемы.
Montero 3 LTD 2001, 3.5 6G74 MPI, АКПП v5a51
- Как показала практика — для начала неплохо было бы ознакомиться с теорией (с)
- Как показала практика — для начала неплохо было бы ознакомиться с теорией (с)
-
ДМИТРИЙ 618
- Сообщения: 1900
- Зарегистрирован: 12 сен 2013, 20:06
- Двигатель:: 6G74GDI
- Мой автомобиль(и):: PAJERO 3
- Откуда: ПРОТВИНО
- Благодарил (а): 34 раза
- Поблагодарили: 64 раза
Re: П3 гул - резина? Редуктор? Кардан?
Ну если уверен насчет масла,то мож и попробовать.Лукойл тм-5 например,чиста для проверки и недорого.Его из шприца усрешься выдавливать.
- hc2hunter
- Сообщения: 7271
- Зарегистрирован: 03 фев 2013, 14:29
- Двигатель:: 6G74 MPI
- Мой автомобиль(и):: Montero 3 Limited, 2001
- Откуда: Смоленск
- Благодарил (а): 484 раза
- Поблагодарили: 466 раз
Re: П3 гул - резина? Редуктор? Кардан?
Спасибо, друг...
С таким подходом можно и сразу Литола ложкой наложить...
Кстати да, мы на старых джипаках для успокоения раздаток и мостов иногда добавляли консистентную смазку в масло.
Около 50г на 2 литра масла в агрегат. Помогало очень хорошо.
Но все-таки лучше PTFE пока ничего не придумано. Жаль не найдешь этого сейчас... не делают что ли...
С таким подходом можно и сразу Литола ложкой наложить...
Кстати да, мы на старых джипаках для успокоения раздаток и мостов иногда добавляли консистентную смазку в масло.
Около 50г на 2 литра масла в агрегат. Помогало очень хорошо.
Но все-таки лучше PTFE пока ничего не придумано. Жаль не найдешь этого сейчас... не делают что ли...
Montero 3 LTD 2001, 3.5 6G74 MPI, АКПП v5a51
- Как показала практика — для начала неплохо было бы ознакомиться с теорией (с)
- Как показала практика — для начала неплохо было бы ознакомиться с теорией (с)
- hc2hunter
- Сообщения: 7271
- Зарегистрирован: 03 фев 2013, 14:29
- Двигатель:: 6G74 MPI
- Мой автомобиль(и):: Montero 3 Limited, 2001
- Откуда: Смоленск
- Благодарил (а): 484 раза
- Поблагодарили: 466 раз
Re: П3 гул - резина? Редуктор? Кардан?
Подумалось тут....
Может у меня этот гул всегда был. Собственно не сам гул, а данное явление.
Я когда-то давно писал, что было у меня всегда легкое подгуживание на 93-96км/ч, из-за чего я просто инстинктивно ездил или 90 или 100. Но оно было такое легкое, что вообще не напрягало.
Ну так вот... Заднюю опору АКПП и 8 резинок я поменял 03.09.2014. После чего на трассу не выезжал пару месяцев. Потом выявил этот гул. Случайно.
Может новые резинки работают как-то иначе и просто стали пропускать на кузов другие гармоники вибраций?
Да и собственно, через что вообще этот гул так хорошо проходит на кузов? Все же обрезинено у нас. Кузов непосредственно с трансмиссией нигде не соприкасается.
Может у меня этот гул всегда был. Собственно не сам гул, а данное явление.
Я когда-то давно писал, что было у меня всегда легкое подгуживание на 93-96км/ч, из-за чего я просто инстинктивно ездил или 90 или 100. Но оно было такое легкое, что вообще не напрягало.
Ну так вот... Заднюю опору АКПП и 8 резинок я поменял 03.09.2014. После чего на трассу не выезжал пару месяцев. Потом выявил этот гул. Случайно.
Может новые резинки работают как-то иначе и просто стали пропускать на кузов другие гармоники вибраций?
Да и собственно, через что вообще этот гул так хорошо проходит на кузов? Все же обрезинено у нас. Кузов непосредственно с трансмиссией нигде не соприкасается.
Montero 3 LTD 2001, 3.5 6G74 MPI, АКПП v5a51
- Как показала практика — для начала неплохо было бы ознакомиться с теорией (с)
- Как показала практика — для начала неплохо было бы ознакомиться с теорией (с)
- hc2hunter
- Сообщения: 7271
- Зарегистрирован: 03 фев 2013, 14:29
- Двигатель:: 6G74 MPI
- Мой автомобиль(и):: Montero 3 Limited, 2001
- Откуда: Смоленск
- Благодарил (а): 484 раза
- Поблагодарили: 466 раз
Re: П3 гул - резина? Редуктор? Кардан?
И еще вот у меня интересный вопрос к опытным...
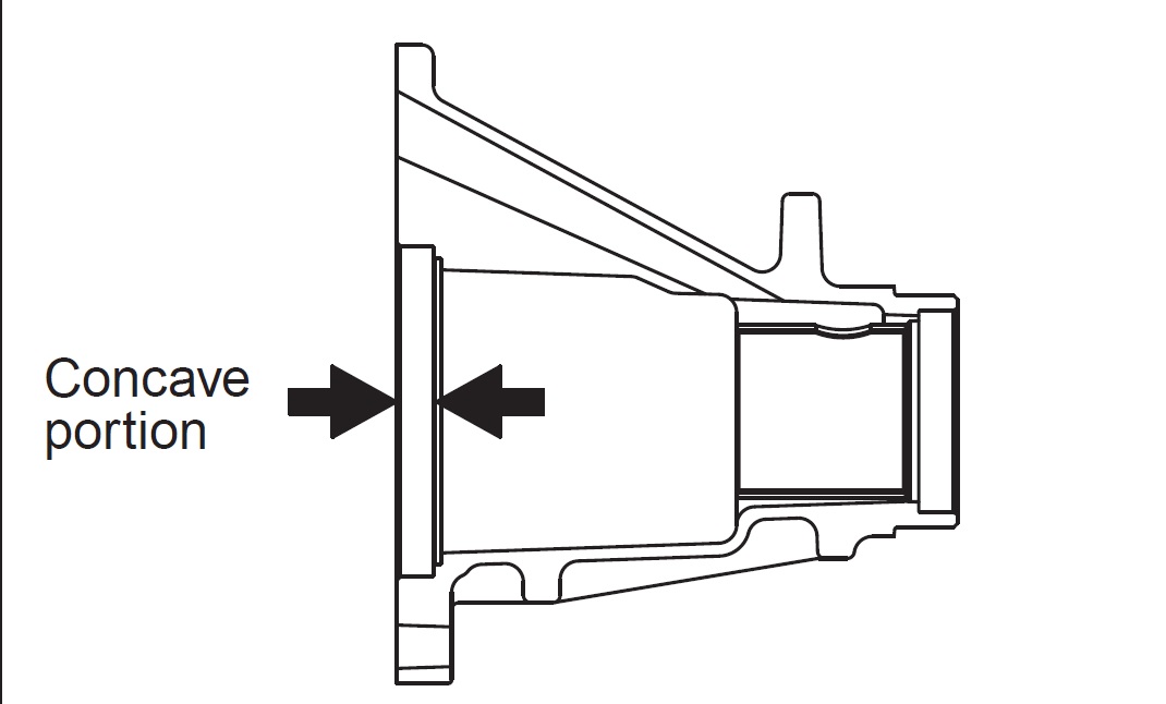
Смотрим 2 фотки:
и 
А точно хвостовик когда установлен в упор прижимает подшипник к корпусу? Ну или хотя бы пытается это делать с некоторым допуском?
Че-то по проточкам не очень-то похоже. Учитывая что резиновый "вантуз" тут особой роли не сыграет.
Я не зря тогда писал, что если дернуть за хвост, подшипник выезжает из своего посадочного места где-то на 2мм, и тогда внутри раздатки если его поворачивать раздаются странные звуки, подклинивания и подхрустывания.
Может какое-то подобное явление происходит и при вибрации? подшипник выползает чуточку наружу и провоцирует какие-то вибрации?
Смотрим 2 фотки:
А точно хвостовик когда установлен в упор прижимает подшипник к корпусу? Ну или хотя бы пытается это делать с некоторым допуском?
Че-то по проточкам не очень-то похоже. Учитывая что резиновый "вантуз" тут особой роли не сыграет.
Я не зря тогда писал, что если дернуть за хвост, подшипник выезжает из своего посадочного места где-то на 2мм, и тогда внутри раздатки если его поворачивать раздаются странные звуки, подклинивания и подхрустывания.
Может какое-то подобное явление происходит и при вибрации? подшипник выползает чуточку наружу и провоцирует какие-то вибрации?
Montero 3 LTD 2001, 3.5 6G74 MPI, АКПП v5a51
- Как показала практика — для начала неплохо было бы ознакомиться с теорией (с)
- Как показала практика — для начала неплохо было бы ознакомиться с теорией (с)
-
Vitaliy666
- Сообщения: 2727
- Зарегистрирован: 02 сен 2011, 07:53
- Двигатель:: =--=
- Мой автомобиль(и):: =----=
- Откуда: =--=
- Благодарил (а): 11 раз
- Поблагодарили: 143 раза
Re: П3 гул - резина? Редуктор? Кардан?
А там же куча колец стопорных подбираемой толщины со всех сторон этого подшипника, может что то и не правильно подобрано?
- hc2hunter
- Сообщения: 7271
- Зарегистрирован: 03 фев 2013, 14:29
- Двигатель:: 6G74 MPI
- Мой автомобиль(и):: Montero 3 Limited, 2001
- Откуда: Смоленск
- Благодарил (а): 484 раза
- Поблагодарили: 466 раз
Re: П3 гул - резина? Редуктор? Кардан?
Спасибо за монолог про стопорные кольца, но вот я-то как раз разбирал это все и видел, что там за кольца и где они стоят 
Подобрано неправильно там быть не может по одной простой причине - кольцо дистанционное там ОДНО. И самое толстое оно бывает 3,50мм (по каталогу). У меня же стоит около 3,2мм. Оставшиеся 0,3мм погоды не делают совершенно никакой.
Я даже думаю что кольцо это в идеале должно быть тоньше, чтобы отодвинуть группу сателлитов еще дальше от их собственного барабана. Вопрос лишь как это все подбирается на заводе? Кто кого должен прижимать и должен ли вообще?
Я даже щас это нарисую на фотке что выложил выше:

Да, вантуз имеет внешний диаметр как дистанционная шайба, то есть теоретически должен прижиматься хвостовиком к подшипнику.
Но вот препятствует ли он ходу подшипника из посадочного места я сказать не могу... К сожалению когда все собрано - я не пробовал тянуть за хвост. А может и зря не пробовал...
Сзади за подшипником ничего нет.

Точнее не то чтобы ничего нет, но это уже виднеется стенка барабана сателлитов (см. схему тут)
Поэтому если дернуть за хвост, вся эта начинка запросто может начать тереться об стенки раздатки (имхо).
А какие там в реале создаются условия, когда оно крутится со скоростью 45 оборотов в секунду - я х.з. Может за счет инерции, нагрузки и собственной массы - его реально куда-то прижимает. А если еще и есть при этом какие-то искривления в шлицевом под нагрузкой - он может начать барабанить об стенку РК.
Может там изначально было все на столько идеально подогнано, что были учтены осевые биения, скажем, до 0,5мм, а когда к пробегу 300 тыщ они стали ближе к 1мм - реально замолотило кого-то об кого-то...
На правах очередной теории.
Подобрано неправильно там быть не может по одной простой причине - кольцо дистанционное там ОДНО. И самое толстое оно бывает 3,50мм (по каталогу). У меня же стоит около 3,2мм. Оставшиеся 0,3мм погоды не делают совершенно никакой.
Я даже думаю что кольцо это в идеале должно быть тоньше, чтобы отодвинуть группу сателлитов еще дальше от их собственного барабана. Вопрос лишь как это все подбирается на заводе? Кто кого должен прижимать и должен ли вообще?
Я даже щас это нарисую на фотке что выложил выше:
Да, вантуз имеет внешний диаметр как дистанционная шайба, то есть теоретически должен прижиматься хвостовиком к подшипнику.
Но вот препятствует ли он ходу подшипника из посадочного места я сказать не могу... К сожалению когда все собрано - я не пробовал тянуть за хвост. А может и зря не пробовал...
Сзади за подшипником ничего нет.
Точнее не то чтобы ничего нет, но это уже виднеется стенка барабана сателлитов (см. схему тут)
Поэтому если дернуть за хвост, вся эта начинка запросто может начать тереться об стенки раздатки (имхо).
А какие там в реале создаются условия, когда оно крутится со скоростью 45 оборотов в секунду - я х.з. Может за счет инерции, нагрузки и собственной массы - его реально куда-то прижимает. А если еще и есть при этом какие-то искривления в шлицевом под нагрузкой - он может начать барабанить об стенку РК.
Может там изначально было все на столько идеально подогнано, что были учтены осевые биения, скажем, до 0,5мм, а когда к пробегу 300 тыщ они стали ближе к 1мм - реально замолотило кого-то об кого-то...
На правах очередной теории.
Montero 3 LTD 2001, 3.5 6G74 MPI, АКПП v5a51
- Как показала практика — для начала неплохо было бы ознакомиться с теорией (с)
- Как показала практика — для начала неплохо было бы ознакомиться с теорией (с)
-
Vitaliy666
- Сообщения: 2727
- Зарегистрирован: 02 сен 2011, 07:53
- Двигатель:: =--=
- Мой автомобиль(и):: =----=
- Откуда: =--=
- Благодарил (а): 11 раз
- Поблагодарили: 143 раза
Re: П3 гул - резина? Редуктор? Кардан?
Хмм странно смотри на схеме есть со стороны хвостовика это кольцо у меня по вину высвечивает подбор от 2,57 до 3,95 с шагом 0,06 и есть с другой стороны подшипника номер на схеме(30093W) диапозон от 1,57 до 2,77 шаг так же 0,06
- hc2hunter
- Сообщения: 7271
- Зарегистрирован: 03 фев 2013, 14:29
- Двигатель:: 6G74 MPI
- Мой автомобиль(и):: Montero 3 Limited, 2001
- Откуда: Смоленск
- Благодарил (а): 484 раза
- Поблагодарили: 466 раз
Re: П3 гул - резина? Редуктор? Кардан?
От то-то и оно, что на схеме есть, а открываешь - нет!
И кольца стоят наоборот. Не так как на схеме. Сначала толстое дистанционное, а потом уже стопорное на подшипнике.
И я не уверен, что до меня кто-то лазил туда, ибо герметик даже был заводской.
Да, собственно и гула не было тоже до поры до времени. поэтому вряд ли это все результат какой-то неверной сборки.
На самом деле я и в прочих схемах находил недостоверности и отличия от практики.
Например то что там стоит еще барабан для датчиков я вообще узнал только из ремонтного мануала. В каталогах он не попадается. А у него еще и разный калибр для дизелей и бензинов, т.к. используются разные ГП в мостах.
И кольца стоят наоборот. Не так как на схеме. Сначала толстое дистанционное, а потом уже стопорное на подшипнике.
И я не уверен, что до меня кто-то лазил туда, ибо герметик даже был заводской.
Да, собственно и гула не было тоже до поры до времени. поэтому вряд ли это все результат какой-то неверной сборки.
На самом деле я и в прочих схемах находил недостоверности и отличия от практики.
Например то что там стоит еще барабан для датчиков я вообще узнал только из ремонтного мануала. В каталогах он не попадается. А у него еще и разный калибр для дизелей и бензинов, т.к. используются разные ГП в мостах.
Montero 3 LTD 2001, 3.5 6G74 MPI, АКПП v5a51
- Как показала практика — для начала неплохо было бы ознакомиться с теорией (с)
- Как показала практика — для начала неплохо было бы ознакомиться с теорией (с)
- SNOOPER
- Модератор
- Сообщения: 57318
- Зарегистрирован: 11 дек 2004, 19:49
- Двигатель:: 4D56
- Мой автомобиль(и):: NewMPS
- Откуда: 78
- Откуда: Spb
- Благодарил (а): 1020 раз
- Поблагодарили: 4763 раза
Re: П3 гул - резина? Редуктор? Кардан?
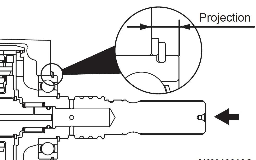
Толщина кольца определяется по размерам на картинках.
Нажимаешь на вал по стрелке и измеряешь выступание подшипника.
Оно должно совпадать с размером выточки хвостовика.
Нажимаешь на вал по стрелке и измеряешь выступание подшипника.
Оно должно совпадать с размером выточки хвостовика.
- hc2hunter
- Сообщения: 7271
- Зарегистрирован: 03 фев 2013, 14:29
- Двигатель:: 6G74 MPI
- Мой автомобиль(и):: Montero 3 Limited, 2001
- Откуда: Смоленск
- Благодарил (а): 484 раза
- Поблагодарили: 466 раз
Re: П3 гул - резина? Редуктор? Кардан?
Так все верно!
И на схеме есть второй "спейсер" (второе дистанционное кольцо), которое обязано выбирать оставшееся расстояние до выточки.
А его нету! Причем, размер "вантуза" посмотри какой? Он прекрасно сойдет за этот самый спейсер. То есть его толщину нужно тоже учитывать. Где это написано? а нигде. А вантуз между-прочим толстый, сам как хороший спейсер.
А если полностью почитать данную страницу, то есть просто убойная фраза жирным:

Standard value: 0 - 0,12mm
То есть он может быть 0. Они допускают сборку без спейсера, типа все отлично прижимается.
И чем это оно интересно "стандарт", если по каталогу мы видим толщину этих колечек аж до 3,95мм ?
В общем есть у меня одна мыслишка, завтра опробую...
И на схеме есть второй "спейсер" (второе дистанционное кольцо), которое обязано выбирать оставшееся расстояние до выточки.
А его нету! Причем, размер "вантуза" посмотри какой? Он прекрасно сойдет за этот самый спейсер. То есть его толщину нужно тоже учитывать. Где это написано? а нигде. А вантуз между-прочим толстый, сам как хороший спейсер.
А если полностью почитать данную страницу, то есть просто убойная фраза жирным:
Standard value: 0 - 0,12mm
То есть он может быть 0. Они допускают сборку без спейсера, типа все отлично прижимается.
И чем это оно интересно "стандарт", если по каталогу мы видим толщину этих колечек аж до 3,95мм ?
В общем есть у меня одна мыслишка, завтра опробую...
Последний раз редактировалось hc2hunter 24 фев 2015, 00:39, всего редактировалось 1 раз.
Montero 3 LTD 2001, 3.5 6G74 MPI, АКПП v5a51
- Как показала практика — для начала неплохо было бы ознакомиться с теорией (с)
- Как показала практика — для начала неплохо было бы ознакомиться с теорией (с)
- Владимир Михайлович
- Сообщения: 6287
- Зарегистрирован: 22 фев 2008, 20:51
- Двигатель:: 6G74
- Мой автомобиль(и):: Монтеро 94 г.в.
- Откуда: Питер
- Откуда: Санкт-Петербург
- Благодарил (а): 69 раз
- Поблагодарили: 179 раз
Re: П3 гул - резина? Редуктор? Кардан?
Мне видится такое метод "сокращения серий Санта-Барбара": предполагаемые места источника гула - редуктор или раздатка - по очереди заклинивать к кузову деревянной колодкой и слушать, что будет
Монтеро 5 дв. 6G74.АКПП. 94 г.в.
- hc2hunter
- Сообщения: 7271
- Зарегистрирован: 03 фев 2013, 14:29
- Двигатель:: 6G74 MPI
- Мой автомобиль(и):: Montero 3 Limited, 2001
- Откуда: Смоленск
- Благодарил (а): 484 раза
- Поблагодарили: 466 раз
Re: П3 гул - резина? Редуктор? Кардан?
Михалыч, редуктор стоит новый.
Раздатку пробовал опускать и поднимать - гул меняется.
Удлиннение кардана тоже дает эффект.
Явно собака где-то тут.
Но впрочем по методике ты прав. Давно надо было это применить.
Раздатку пробовал опускать и поднимать - гул меняется.
Удлиннение кардана тоже дает эффект.
Явно собака где-то тут.
Но впрочем по методике ты прав. Давно надо было это применить.
Montero 3 LTD 2001, 3.5 6G74 MPI, АКПП v5a51
- Как показала практика — для начала неплохо было бы ознакомиться с теорией (с)
- Как показала практика — для начала неплохо было бы ознакомиться с теорией (с)
- SNOOPER
- Модератор
- Сообщения: 57318
- Зарегистрирован: 11 дек 2004, 19:49
- Двигатель:: 4D56
- Мой автомобиль(и):: NewMPS
- Откуда: 78
- Откуда: Spb
- Благодарил (а): 1020 раз
- Поблагодарили: 4763 раза
Re: П3 гул - резина? Редуктор? Кардан?
Так это допустимая разница в размерах Подшипник- Проточка хвостовика.hc2hunter писал(а):
А если полностью почитать данную страницу, то есть просто убойная фраза жирным:
Standard value: 0 - 0,12mm
То есть он может быть 0. Они допускают сборку без спейсера, типа все отлично прижимается.
И чем это оно интересно "стандарт", если по каталогу мы видим толщину этих колечек аж до 3,95мм ?
В общем есть у меня одна мыслишка, завтра опробую...
Как у тебя стоит кардан относительно фланца моста?
- hc2hunter
- Сообщения: 7271
- Зарегистрирован: 03 фев 2013, 14:29
- Двигатель:: 6G74 MPI
- Мой автомобиль(и):: Montero 3 Limited, 2001
- Откуда: Смоленск
- Благодарил (а): 484 раза
- Поблагодарили: 466 раз
Re: П3 гул - резина? Редуктор? Кардан?
разница допустимая 0.12, а минимальное кольцо предлагается 2.40? Ничего не понимаю...SNOOPER писал(а):Так это допустимая разница в размерах Подшипник- Проточка хвостовика.hc2hunter писал(а):
А если полностью почитать данную страницу, то есть просто убойная фраза жирным:
Standard value: 0 - 0,12mm
То есть он может быть 0. Они допускают сборку без спейсера, типа все отлично прижимается.
И чем это оно интересно "стандарт", если по каталогу мы видим толщину этих колечек аж до 3,95мм ?
В общем есть у меня одна мыслишка, завтра опробую...
Как у тебя стоит кардан относительно фланца моста?
По меткам сегодня гляну, хотя кардан я крутил на фланце и так и эдак, это никак не отражается ни на чем.
Montero 3 LTD 2001, 3.5 6G74 MPI, АКПП v5a51
- Как показала практика — для начала неплохо было бы ознакомиться с теорией (с)
- Как показала практика — для начала неплохо было бы ознакомиться с теорией (с)
-
Vitaliy666
- Сообщения: 2727
- Зарегистрирован: 02 сен 2011, 07:53
- Двигатель:: =--=
- Мой автомобиль(и):: =----=
- Откуда: =--=
- Благодарил (а): 11 раз
- Поблагодарили: 143 раза
Re: П3 гул - резина? Редуктор? Кардан?
0.12 нааерно имеется какой может быть итоговый зазор, между двумя кольцами..Типа вот и подбирай до минимального люфта
- hc2hunter
- Сообщения: 7271
- Зарегистрирован: 03 фев 2013, 14:29
- Двигатель:: 6G74 MPI
- Мой автомобиль(и):: Montero 3 Limited, 2001
- Откуда: Смоленск
- Благодарил (а): 484 раза
- Поблагодарили: 466 раз
Re: П3 гул - резина? Редуктор? Кардан?
Возможно, ты и прав!
Но еще раз повторюсь, кольца второго не было, равно как и не было данной проблемы до поры до времени...
Есть теория, что постепенно выезжая из своего места подшипник хвостовика слегка разработал свое посадочное + заодно "доработал" выточку на хвосте
В любом случае, достать эти кольца нереально. По каталогу все едет с Японии или Эмиратов по 15-30 дней и вероятность поставки стремится к нулю...
При самой минимальной цене на кольцо - 320р.
Видимо если тока заказывать токарку.
В общем, есть у меня мысль как это попытаться проверить и, возможно, устранить ничего не разбирая. Сегодня попробую...
Но еще раз повторюсь, кольца второго не было, равно как и не было данной проблемы до поры до времени...
Есть теория, что постепенно выезжая из своего места подшипник хвостовика слегка разработал свое посадочное + заодно "доработал" выточку на хвосте
В любом случае, достать эти кольца нереально. По каталогу все едет с Японии или Эмиратов по 15-30 дней и вероятность поставки стремится к нулю...
При самой минимальной цене на кольцо - 320р.
Видимо если тока заказывать токарку.
В общем, есть у меня мысль как это попытаться проверить и, возможно, устранить ничего не разбирая. Сегодня попробую...
Последний раз редактировалось hc2hunter 24 фев 2015, 09:29, всего редактировалось 1 раз.
Montero 3 LTD 2001, 3.5 6G74 MPI, АКПП v5a51
- Как показала практика — для начала неплохо было бы ознакомиться с теорией (с)
- Как показала практика — для начала неплохо было бы ознакомиться с теорией (с)
- hc2hunter
- Сообщения: 7271
- Зарегистрирован: 03 фев 2013, 14:29
- Двигатель:: 6G74 MPI
- Мой автомобиль(и):: Montero 3 Limited, 2001
- Откуда: Смоленск
- Благодарил (а): 484 раза
- Поблагодарили: 466 раз
Re: П3 гул - резина? Редуктор? Кардан?
Все еще также тешу себя надежной услышать в теме Паука42.
Ти поменял он приводы, как там его дела...?
Ти поменял он приводы, как там его дела...?
Montero 3 LTD 2001, 3.5 6G74 MPI, АКПП v5a51
- Как показала практика — для начала неплохо было бы ознакомиться с теорией (с)
- Как показала практика — для начала неплохо было бы ознакомиться с теорией (с)
- hc2hunter
- Сообщения: 7271
- Зарегистрирован: 03 фев 2013, 14:29
- Двигатель:: 6G74 MPI
- Мой автомобиль(и):: Montero 3 Limited, 2001
- Откуда: Смоленск
- Благодарил (а): 484 раза
- Поблагодарили: 466 раз
Re: П3 гул - резина? Редуктор? Кардан?
В общем, я предположил что при определенных условиях вал с подшипником слегка выползают из своего посадочного места, в следствие чего начинается эта самая вибрация (гул).
Чего я изобрел...

Взял пружину за 20р. от помпы Камаза и засунул между вилкой кардана и валом.
Гул никуда не делся, но теперь, кажется, он начинается с 2300 и кончается на 2800.
И да, все-таки на 4Н он ощущается однозначно меньше!
Как вариант пружина не в состоянии сопротивляться той силище, которая вызывает гул, хотя и пребывает там в прилично сжатом состоянии.
Еще я пробовал при снятом кардане подергать вал. Он никак наружу не поддается. Или реально зажат хвостовиком, или все-таки при нагрузке там идут куда более силовые процессы, чем я пытаюсь его тянуть мелкими пассатижиками... которые еще и соскакивают все время.
Итог:
_______
Дальше все. Тупик.
Точить кучу колец, и "наура" пытаться зажимать этот подшипник хвостом? или тупо менять раздатку?
Ну, наверное еще можно попытаться снять противовес, как иногда делают на 3.0л Pajero-4 при похожей вибрации на 2500 оборотах... Правда, это далеко от научного подхода и не известно к какой еще вибрации приведет.
И, кстати, SNOOPER, на дифе я меток никаких не нашел... Вообще никаких.
На кардане метка, само-собой есть. На дифе вообще ни малейшего намека. Ни внутри ни снаружи, нигде. Хоть бы какая-то приметная точка или риска... Все одинаковое. Тер, скоблил, с фонариком лазил вокруг него минут 10. Фланец девственно чист.
И на старом дифе по-моему тоже не было ничего.
Чего я изобрел...
Взял пружину за 20р. от помпы Камаза и засунул между вилкой кардана и валом.
Гул никуда не делся, но теперь, кажется, он начинается с 2300 и кончается на 2800.
И да, все-таки на 4Н он ощущается однозначно меньше!
Как вариант пружина не в состоянии сопротивляться той силище, которая вызывает гул, хотя и пребывает там в прилично сжатом состоянии.
Еще я пробовал при снятом кардане подергать вал. Он никак наружу не поддается. Или реально зажат хвостовиком, или все-таки при нагрузке там идут куда более силовые процессы, чем я пытаюсь его тянуть мелкими пассатижиками... которые еще и соскакивают все время.
Итог:
- условия возникновения все те же (нагрузка+скорость+обороты)
- гул становится тише если:
- удлиннять кардан проставкой под фланцы
- набивать раздатку побольше маслом
- в режимах 4H, 4HLc
- на 4LLc гула нет совсем, ни на каких оборотах, но и до 80км/ч никак не разогнаться...
- тон гула и его сила меняется если опускать/поднимать проставками заднюю опору силового агрегата. - вроде бы гула после ночного стояния нет, пока трансмиссия не прогреется (примерно 5-10 км пробега)
_______
Дальше все. Тупик.
Точить кучу колец, и "наура" пытаться зажимать этот подшипник хвостом? или тупо менять раздатку?
Ну, наверное еще можно попытаться снять противовес, как иногда делают на 3.0л Pajero-4 при похожей вибрации на 2500 оборотах... Правда, это далеко от научного подхода и не известно к какой еще вибрации приведет.
И, кстати, SNOOPER, на дифе я меток никаких не нашел... Вообще никаких.
На кардане метка, само-собой есть. На дифе вообще ни малейшего намека. Ни внутри ни снаружи, нигде. Хоть бы какая-то приметная точка или риска... Все одинаковое. Тер, скоблил, с фонариком лазил вокруг него минут 10. Фланец девственно чист.
И на старом дифе по-моему тоже не было ничего.
Montero 3 LTD 2001, 3.5 6G74 MPI, АКПП v5a51
- Как показала практика — для начала неплохо было бы ознакомиться с теорией (с)
- Как показала практика — для начала неплохо было бы ознакомиться с теорией (с)
