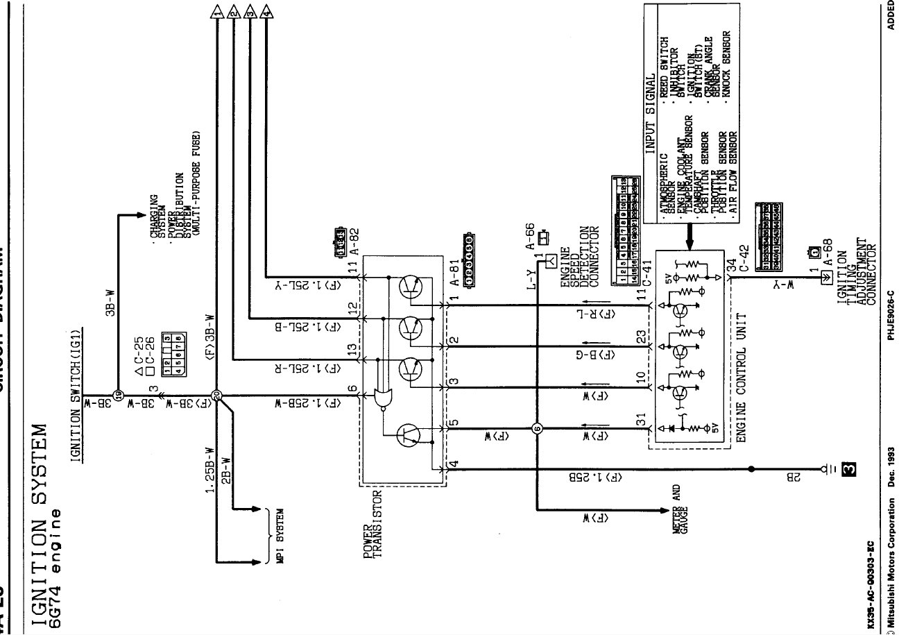
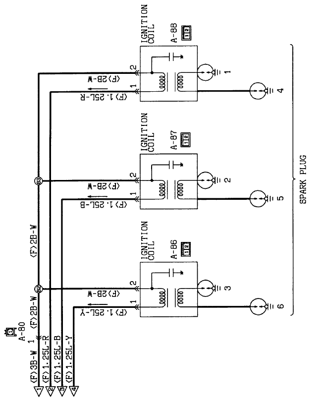
Уважаемые Участки и Модераторы, имел неосторожность купить автомобиль Mitsubichi Pajero 1994 года выпуска. Последний хозяин макнул носом в болото, а вытащив, бросил на стоянке. после замены ЭБУ двигателя. нет управления одной и катушек зажигания.(Не приходит на Ногу IB1 управляющий сигнал из ЭБУ)
Пожалуйста помогите найти Схема управления двигателя 6G74 автомобиля Mitsubichi Pajero 1994 года выпуска. Очень Очень нужна!!!
Домино Трофи 2026 - 25 Апреля - Обсудить и спросить тут.
Схема управления двигателя 6G74 автомобиля Mitsubichi Pajer
Модераторы: SNOOPER, Nbf, Romik, BAlex
-
Шифровальщик
- Сообщения: 1
- Зарегистрирован: 17 янв 2013, 09:04
- Двигатель:: 6G74 Бензин
- Мой автомобиль(и):: Mitsubichi Pajro
- Откуда: Барановичи
- Captain Sergio
- Сообщения: 4557
- Зарегистрирован: 30 янв 2012, 22:01
- Двигатель:: 4G18
- Мой автомобиль(и):: Pajero Пинин, 1999, АКПП, BMW X5
- Откуда: Ульяновск
- Благодарил (а): 264 раза
- Поблагодарили: 346 раз
Re: Схема управления двигателя 6G74 автомобиля Mitsubichi P
Завтра попробую скинуть. Кинь E-mail на личку.
Сергей. Все будет хорошо! Грязезащита для рамных автомобилей.
- Captain Sergio
- Сообщения: 4557
- Зарегистрирован: 30 янв 2012, 22:01
- Двигатель:: 4G18
- Мой автомобиль(и):: Pajero Пинин, 1999, АКПП, BMW X5
- Откуда: Ульяновск
- Благодарил (а): 264 раза
- Поблагодарили: 346 раз
Re: Схема управления двигателя 6G74 автомобиля Mitsubichi P
Лови. Распечатаешь, склеишь.
Сергей. Все будет хорошо! Грязезащита для рамных автомобилей.
