Домино Трофи 2026 - 25 Апреля - Обсудить и спросить тут.
ЭЛЕКТРИКА
Модераторы: SNOOPER, Nbf, Romik, BAlex
-
ПЕТРОВИЧ 58
- Сообщения: 10
- Зарегистрирован: 28 окт 2010, 19:34
- Двигатель:: 4D56
- Мой автомобиль(и):: ПОДЖЕРА СПОРТ
ЭЛЕКТРИКА
ГДЕ НАХОДИТСЯ ПРЕДОХРАНИТЕЛЬ НА РОЗЕТКИ ДОП. ОБОРУДОВАНИЯ ПОДЖЕРА СПОРТ 2005 С УВАЖЕНИЕМ ВЛАДИМИР
-
vadym
- Сообщения: 1457
- Зарегистрирован: 12 сен 2007, 00:50
- Откуда: Черновцы
- Благодарил (а): 12 раз
- Поблагодарили: 120 раз
Re: ЭЛЕКТРИКА
Их вообще то два, так как розетки доп оборудования включаются через реле.ПЕТРОВИЧ 58 писал(а):ГДЕ НАХОДИТСЯ ПРЕДОХРАНИТЕЛЬ НА РОЗЕТКИ ДОП. ОБОРУДОВАНИЯ ПОДЖЕРА СПОРТ 2005 С УВАЖЕНИЕМ ВЛАДИМИР
Реле включается когда ключ зажигания в режимах АСС и обмотка реле через пред. №4.
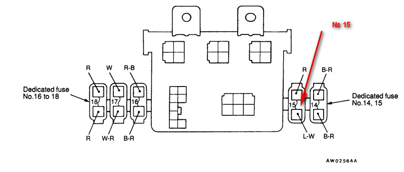
Розетки через пред. №15.
В самих розетках аварийные плавкие вставки также бывают.
4-й находится в салоне в основном блоке пред., слева возле левой стойки.
15-й находится на блоке реле и дополнительных предохранителей под торпедой возле рулевой колонки.
Обозначения предохранителей согласно схемы электрической, а не таблицы в мануале.
PAJERO SPORT 2003 2,5 TD
-
ПЕТРОВИЧ 58
- Сообщения: 10
- Зарегистрирован: 28 окт 2010, 19:34
- Двигатель:: 4D56
- Мой автомобиль(и):: ПОДЖЕРА СПОРТ
