Замена подшипника полуоси
Модераторы: SNOOPER, Nbf, Romik, BAlex, drcham, Podzemshik
- Мишок
- Сообщения: 1703
- Зарегистрирован: 14 авг 2009, 13:03
- Двигатель:: 4D56
- Мой автомобиль(и):: Pajero
- Откуда: Москва Чертаново
- Благодарил (а): 36 раз
- Поблагодарили: 54 раза
- Контактная информация:
Замена подшипника полуоси
Собрался менять подшипники, но отчета именно по спортам не нашел.
По сему считаю нужным поместить в FAQ.
Пост не мой, оригинал взят тут http://www.drive2.ru/l/3166191/ автор Den-WhiteWolf
Чтобы добраться до подшипника нам нужно вытянуть полуось в сборе.
Для начала:
— сливаем масло с заднего моста;
— снимаем колесо;
— снимаем тормозной диск;
— снимаем тормозные колодки ручника и вытаскиваем наружу трос ручника
— отсоединяем тормозной шланг суппорта от тормозной магистрали и откручиваем полностью тормозной суппорт в сборе. Теперь откручиваем (4 гайки) полуось в сборе от чулка моста и аккуратно вытягиваем полуось дабы шлицами не повредить кромку внутреннего сальника полуоси, хотя учитывая что в данный узел доступ довольно редкий, рекомендую поменять и этот сальник. Аккуратно поддевая отверткой снимаем с полуоси ротор датчика вращения колеса, ABS (у кого он есть) и видим стопорное кольцо, распорную втулку и подшипник. Извлекаем шпильки. (по мануалу предлагают тольку одну, чтобы болгарить можно было) Снимаем стопорное кольцо. Приступаем к извлечению распорной втулки, которая является одноразовой, то есть извлекается она только с помощью жены болгарина и после установки подшипника распорная втулка устанавливается новая. Распорная втулка извлечена. Теперь извлекаем подшипник с помощью специального съемника.( у меня такого съемника нет, буду выбивать) Данным съемником выдавливается полуось из подшипника, а после подшипник с помощью пресса извлекается из корпуса подшипников.
После, берем новый подшипник MB 664611 или Koyo 46T080805CS70 — это один и тот же подшипник и запрессовываем в корпус подшипников. Берем новый наружный сальник MB 664612 и устанавливаем заподлицо с корпусом подшипников (перед установкой сальника наносим на наружную поверхность сальника консистентную смазку) Запрессовываем полуось в корпус с новым подшипником, нанося смазку между сальником и подшипником, а также на поверхности роликов подшипника. Запрессовку новой распорной втулки японцы рекомендуют с помощью пресса с номинальным значением начальной запрессовки 49000Н и окончательным усилием 108000Н. Но многие специалисты используют способ нагрева распорной втулки газовой горелкой или феном и самостоятельным усаживанием втулки на полуось.
Греем втулку пока она не начнет приобретать синеватый цвет. Как только распорная втулка посинела бросаем втулку сверху на полуось. За счет нагрева втулка расширяется, а с высоты длины полуоси втулка за счет своего веса и скорости падения усаживается на свое место. Если втулка не села на свое место, верхняя часть распорной втулки должна сровняться с нижней частью паза стопорного кольца на полуоси и плотно прилегать к подшипнику, тогда допрессовываем распорную втулку с помощью пресса. После остывания на полуоси распорная втулка сжимается плотно усаживаясь на своем месте.
Устанавливаем стопорное кольцо на полуось и с помощью плоского щупа замеряем зазор между стопорным кольцом и распорной втулкой, который не должен превышать 0,166 мм
Если зазор больше допустимого, то зазор нужно отрегулировать стопорным кольцом большей толщины. Комплект регулировочных стопорных колец MR 162662.
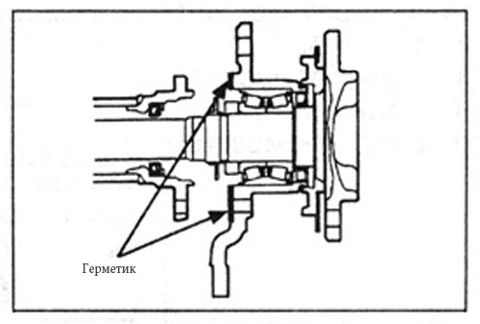
Далее усаживаем на место ротор датчика ABS. Ротор усаживается таким образом чтобы между торцом корпуса подшипников и ротором был зазор 19,4 — 20 мм Теперь можем устанавливать полуось на место в чулок, но перед установкой рекомендую извлечь старый внутренний сальник полуоси (MB 837719) и установить новый. Извлекаем старый сальник. Устанавливаем новый сальник. Устанавливаем полуось на место в чулок нанеся смазку на рабочую кромку сальника, а также обязательно наносим герметик между посадочным местом на чулке и на торце корпуса подшипников. Производим сборку в обратном порядке.
По сему считаю нужным поместить в FAQ.
Пост не мой, оригинал взят тут http://www.drive2.ru/l/3166191/ автор Den-WhiteWolf
Чтобы добраться до подшипника нам нужно вытянуть полуось в сборе.
Для начала:
— сливаем масло с заднего моста;
— снимаем колесо;
— снимаем тормозной диск;
— снимаем тормозные колодки ручника и вытаскиваем наружу трос ручника
— отсоединяем тормозной шланг суппорта от тормозной магистрали и откручиваем полностью тормозной суппорт в сборе. Теперь откручиваем (4 гайки) полуось в сборе от чулка моста и аккуратно вытягиваем полуось дабы шлицами не повредить кромку внутреннего сальника полуоси, хотя учитывая что в данный узел доступ довольно редкий, рекомендую поменять и этот сальник. Аккуратно поддевая отверткой снимаем с полуоси ротор датчика вращения колеса, ABS (у кого он есть) и видим стопорное кольцо, распорную втулку и подшипник. Извлекаем шпильки. (по мануалу предлагают тольку одну, чтобы болгарить можно было) Снимаем стопорное кольцо. Приступаем к извлечению распорной втулки, которая является одноразовой, то есть извлекается она только с помощью жены болгарина и после установки подшипника распорная втулка устанавливается новая. Распорная втулка извлечена. Теперь извлекаем подшипник с помощью специального съемника.( у меня такого съемника нет, буду выбивать) Данным съемником выдавливается полуось из подшипника, а после подшипник с помощью пресса извлекается из корпуса подшипников.
После, берем новый подшипник MB 664611 или Koyo 46T080805CS70 — это один и тот же подшипник и запрессовываем в корпус подшипников. Берем новый наружный сальник MB 664612 и устанавливаем заподлицо с корпусом подшипников (перед установкой сальника наносим на наружную поверхность сальника консистентную смазку) Запрессовываем полуось в корпус с новым подшипником, нанося смазку между сальником и подшипником, а также на поверхности роликов подшипника. Запрессовку новой распорной втулки японцы рекомендуют с помощью пресса с номинальным значением начальной запрессовки 49000Н и окончательным усилием 108000Н. Но многие специалисты используют способ нагрева распорной втулки газовой горелкой или феном и самостоятельным усаживанием втулки на полуось.
Греем втулку пока она не начнет приобретать синеватый цвет. Как только распорная втулка посинела бросаем втулку сверху на полуось. За счет нагрева втулка расширяется, а с высоты длины полуоси втулка за счет своего веса и скорости падения усаживается на свое место. Если втулка не села на свое место, верхняя часть распорной втулки должна сровняться с нижней частью паза стопорного кольца на полуоси и плотно прилегать к подшипнику, тогда допрессовываем распорную втулку с помощью пресса. После остывания на полуоси распорная втулка сжимается плотно усаживаясь на своем месте.
Устанавливаем стопорное кольцо на полуось и с помощью плоского щупа замеряем зазор между стопорным кольцом и распорной втулкой, который не должен превышать 0,166 мм
Если зазор больше допустимого, то зазор нужно отрегулировать стопорным кольцом большей толщины. Комплект регулировочных стопорных колец MR 162662.
Далее усаживаем на место ротор датчика ABS. Ротор усаживается таким образом чтобы между торцом корпуса подшипников и ротором был зазор 19,4 — 20 мм Теперь можем устанавливать полуось на место в чулок, но перед установкой рекомендую извлечь старый внутренний сальник полуоси (MB 837719) и установить новый. Извлекаем старый сальник. Устанавливаем новый сальник. Устанавливаем полуось на место в чулок нанеся смазку на рабочую кромку сальника, а также обязательно наносим герметик между посадочным местом на чулке и на торце корпуса подшипников. Производим сборку в обратном порядке.
МПС 02г. 3.0 AT Продан
МПС 08г. 2.5 МТ Продан
МПС 12г. 2.5 МТ
МПС 08г. 2.5 МТ Продан
МПС 12г. 2.5 МТ
- Мишок
- Сообщения: 1703
- Зарегистрирован: 14 авг 2009, 13:03
- Двигатель:: 4D56
- Мой автомобиль(и):: Pajero
- Откуда: Москва Чертаново
- Благодарил (а): 36 раз
- Поблагодарили: 54 раза
- Контактная информация:
Re: Замена подшипника полуоси
Ну вот, теперь я больше не думаю про задние подшипники
Не затевайте этот процесс в гараже, особенно када рядом нет мохнорылого Митяя, еще способного ацки домчать вас вместе со снятой полуосью до пресса мощью тонн 10
Митяю и Бульдозеру

Не затевайте этот процесс в гараже, особенно када рядом нет мохнорылого Митяя, еще способного ацки домчать вас вместе со снятой полуосью до пресса мощью тонн 10
Митяю и Бульдозеру
Последний раз редактировалось Мишок 01 май 2014, 04:40, всего редактировалось 1 раз.
МПС 02г. 3.0 AT Продан
МПС 08г. 2.5 МТ Продан
МПС 12г. 2.5 МТ
МПС 08г. 2.5 МТ Продан
МПС 12г. 2.5 МТ
- erro2r
- Сообщения: 484
- Зарегистрирован: 28 май 2012, 09:35
- Двигатель:: 6G72
- Мой автомобиль(и):: montero sport
- Откуда: мытищи
- Благодарил (а): 3 раза
- Поблагодарили: 11 раз
- Контактная информация:
Re: Замена подшипника полуоси
сенкс за мануалку, как раз предстояло скоро=)
6г72, бодик 8см , creepy crawler 38x13d15, лепетка sportway x9500, хоботок , dana44 SAS 5.89
- Barmalei
- Сообщения: 1444
- Зарегистрирован: 13 окт 2011, 18:55
- Двигатель:: 6G72
- Мой автомобиль(и):: МПС 2006 GLS 3,0 АКПП V4A515DB
- Откуда: Вологодская область
- Откуда: 35 регион
- Благодарил (а): 166 раз
- Поблагодарили: 56 раз
Re: Замена подшипника полуоси
Скажите а на каком пробеге наступает песец подшипнику полуоси? Примерно во сколько тысяч км придется к этому готовиться?
МПС 2006 GLS 3,0 АКПП. Удалены: перед. и зад. стаб., абсорбер и задний катализатор. Бодик 5 см, аморт. Tokico E3560 и E2800,зад. пруж. Kayaba RD5962, 285/75R16 DunlopGrandtrek MT2, ComeUp 9 DV
- Мишок
- Сообщения: 1703
- Зарегистрирован: 14 авг 2009, 13:03
- Двигатель:: 4D56
- Мой автомобиль(и):: Pajero
- Откуда: Москва Чертаново
- Благодарил (а): 36 раз
- Поблагодарили: 54 раза
- Контактная информация:
Re: Замена подшипника полуоси
У меня пробег 195тыщ, последняя сотка из которых полюбому честная, потому как моя)Barmalei писал(а):Скажите а на каком пробеге наступает песец подшипнику полуоси? Примерно во сколько тысяч км придется к этому готовиться?
Справа был только гул, а слева еще и осевой люфт.
Так что поднимайте, крутите и слушайте
МПС 02г. 3.0 AT Продан
МПС 08г. 2.5 МТ Продан
МПС 12г. 2.5 МТ
МПС 08г. 2.5 МТ Продан
МПС 12г. 2.5 МТ
- Дедон69
- Сообщения: 2312
- Зарегистрирован: 25 сен 2010, 21:24
- Двигатель:: 4М41
- Мой автомобиль(и):: Паджеро 4
- Откуда: Тверская обл.Молоковский р-н
- Благодарил (а): 5 раз
- Поблагодарили: 60 раз
Re: Замена подшипника полуоси
Ни как она на горячую забита.
П.1,88г4д56,мкпп ,попил крови,зато теперь все знаем!П2 93г,4д56т,мкпп ,люк,был,П2рестайл,98г.4м40, Акпп был,.Ради удовольствия в грязь не полезу,!П-4,снова дизель,07г.4М41.акпп,был. L-200-Люська, была, П-4 дизель конечно!
- Мишок
- Сообщения: 1703
- Зарегистрирован: 14 авг 2009, 13:03
- Двигатель:: 4D56
- Мой автомобиль(и):: Pajero
- Откуда: Москва Чертаново
- Благодарил (а): 36 раз
- Поблагодарили: 54 раза
- Контактная информация:
Re: Замена подшипника полуоси
Старую я резал болгаркой, новую сажал на холодную на прессе.Дедон69 писал(а):Ни как она на горячую забита.
Усилие запрессовки получилось точняком как в мануале.
МПС 02г. 3.0 AT Продан
МПС 08г. 2.5 МТ Продан
МПС 12г. 2.5 МТ
МПС 08г. 2.5 МТ Продан
МПС 12г. 2.5 МТ
- Мишок
- Сообщения: 1703
- Зарегистрирован: 14 авг 2009, 13:03
- Двигатель:: 4D56
- Мой автомобиль(и):: Pajero
- Откуда: Москва Чертаново
- Благодарил (а): 36 раз
- Поблагодарили: 54 раза
- Контактная информация:
Re: Замена подшипника полуоси
Добавлю, что выбить в гараже полуось из внутренней обоймы подшипника без съемника
у меня не получилось, более того даже на прессе, усилия в 10 тонн не хватало, получилось только после надрезания и надкалывания зубилом внутренней обоймы.
МПС 02г. 3.0 AT Продан
МПС 08г. 2.5 МТ Продан
МПС 12г. 2.5 МТ
МПС 08г. 2.5 МТ Продан
МПС 12г. 2.5 МТ
