Заглох на ходу. 22 ошибка - нет сигнала с Датчика коленвала
Модераторы: SNOOPER, Nbf, Romik, BAlex
- Captain Sergio
- Сообщения: 4557
- Зарегистрирован: 30 янв 2012, 22:01
- Двигатель:: 4G18
- Мой автомобиль(и):: Pajero Пинин, 1999, АКПП, BMW X5
- Откуда: Ульяновск
- Благодарил (а): 264 раза
- Поблагодарили: 346 раз
Заглох на ходу. 22 ошибка - нет сигнала с Датчика коленвала
Короче встал на ходу на Спорте, бензин. Чек показывает (снял через мигание) 22-ую ошибку. Типа нет сигнала с датчика коленвала в течении 4 секунд. Питание на датчик идёт. Масса тоже. С датчика выход проверил - все время 4,9 Вольт. Крутил стартером, возможно не поймал положение, завтра ключом покручу, попробую поймать момент падения напряжения. Кто сталкивался, он когда дохнет так себя ведёт или ничего не показывает? Я так понимаю в случае пяти Вольт на выходе транзистор закрыт, значит ему кирдык ...
Сергей. Все будет хорошо! Грязезащита для рамных автомобилей.
- Dimix
- Сообщения: 12135
- Зарегистрирован: 26 сен 2006, 18:31
- Двигатель:: 6G72 24v
- Мой автомобиль(и):: montero sport'02
- Откуда: Балашиха
- Откуда: Россия, Балашиха-Москва
- Благодарил (а): 88 раз
- Поблагодарили: 402 раза
Re: Заглох на ходу. 22 ошибка - нет сигнала с Датчика коленв
При вращении стартера насос шумит?
До датчика не разбирал ещё?
До датчика не разбирал ещё?
- Captain Sergio
- Сообщения: 4557
- Зарегистрирован: 30 янв 2012, 22:01
- Двигатель:: 4G18
- Мой автомобиль(и):: Pajero Пинин, 1999, АКПП, BMW X5
- Откуда: Ульяновск
- Благодарил (а): 264 раза
- Поблагодарили: 346 раз
Re: Заглох на ходу. 22 ошибка - нет сигнала с Датчика коленв
Насос шумит, пока не разбирал.Dimix писал(а):При вращении стартера насос шумит?
До датчика не разбирал ещё?
Сергей. Все будет хорошо! Грязезащита для рамных автомобилей.
- Dimix
- Сообщения: 12135
- Зарегистрирован: 26 сен 2006, 18:31
- Двигатель:: 6G72 24v
- Мой автомобиль(и):: montero sport'02
- Откуда: Балашиха
- Откуда: Россия, Балашиха-Москва
- Благодарил (а): 88 раз
- Поблагодарили: 402 раза
Re: Заглох на ходу. 22 ошибка - нет сигнала с Датчика коленв
Б/насос работает как раз от сигнала датчика КВCaptain Sergio писал(а):Насос шумит, пока не разбирал.Dimix писал(а):При вращении стартера насос шумит?
До датчика не разбирал ещё?
- SNOOPER
- Модератор
- Сообщения: 57351
- Зарегистрирован: 11 дек 2004, 19:49
- Двигатель:: 4D56
- Мой автомобиль(и):: NewMPS
- Откуда: 78
- Откуда: Spb
- Благодарил (а): 1023 раза
- Поблагодарили: 4772 раза
Re: Заглох на ходу. 22 ошибка - нет сигнала с Датчика коленв
Тю.....Dimix писал(а): Б/насос работает как раз от сигнала датчика КВ
От сигнала ST (Стартера)
- dvm99
- Сообщения: 22483
- Зарегистрирован: 21 май 2012, 20:59
- Двигатель:: 6G72, 12клап.,
- Мой автомобиль(и):: Pajero2, Запорожец- Ланос
- Откуда: Свердловская обл.
- Благодарил (а): 749 раз
- Поблагодарили: 1090 раз
Re: Заглох на ходу. 22 ошибка - нет сигнала с Датчика коленв
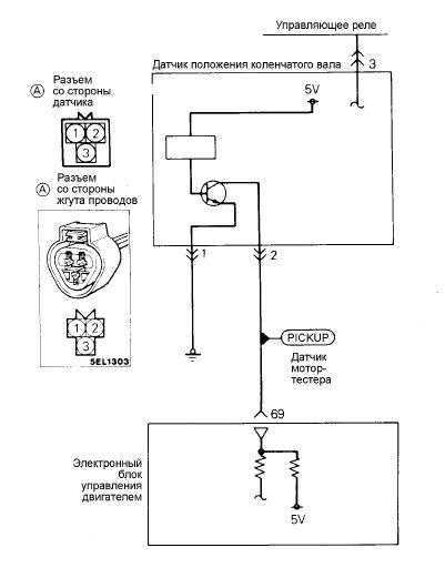
Нет, не обязательно кирдык, даже вернее всего не кирдыкCaptain Sergio писал(а):Я так понимаю в случае пяти Вольт на выходе транзистор закрыт, значит ему кирдык ...
В датчике "открытый коллектор", а +5В приходит из ЭБУ через резик.
Т.о. в случае потери контакта №2 питание на нём будет висеть, а импульсов не будет.
Так что шевели разъём!
Дмитрий
Боливар2 - П2, 92г., V43, 6G72(12V), V4AW2, RD/L, пруль (чистокровный японский рысак)
Боливар1 - П2, 93г., 6G72(12V), МКПП, V43, RD/L, Европа (славный был конь, но уже донор)
Боливар2 - П2, 92г., V43, 6G72(12V), V4AW2, RD/L, пруль (чистокровный японский рысак)
Боливар1 - П2, 93г., 6G72(12V), МКПП, V43, RD/L, Европа (славный был конь, но уже донор)
- drcham
- Модератор
- Сообщения: 14459
- Зарегистрирован: 08 апр 2006, 13:42
- Двигатель:: Бензин
- Мой автомобиль(и):: Wrangler JLU Rubicon
- Откуда: Москва
- Откуда: Москва ЮЗАО
- Благодарил (а): 63 раза
- Поблагодарили: 231 раз
- Контактная информация:
Re: Заглох на ходу. 22 ошибка - нет сигнала с Датчика коленв
Показания с датчика только осциллографом можно снять. Тут либо подкинуть для проверки другой либо диагностировать более плотно.
4LO&GO! Wrangler JLU Rubicon
- Владимир Михайлович
- Сообщения: 6287
- Зарегистрирован: 22 фев 2008, 20:51
- Двигатель:: 6G74
- Мой автомобиль(и):: Монтеро 94 г.в.
- Откуда: Питер
- Откуда: Санкт-Петербург
- Благодарил (а): 69 раз
- Поблагодарили: 179 раз
Re: Заглох на ходу. 22 ошибка - нет сигнала с Датчика коленв
Вольтметром снять можно. Ему же не форму импульса на оборотах исследовать, а в принципе он есть или нет.
Монтеро 5 дв. 6G74.АКПП. 94 г.в.
- SNOOPER
- Модератор
- Сообщения: 57351
- Зарегистрирован: 11 дек 2004, 19:49
- Двигатель:: 4D56
- Мой автомобиль(и):: NewMPS
- Откуда: 78
- Откуда: Spb
- Благодарил (а): 1023 раза
- Поблагодарили: 4772 раза
Re: Заглох на ходу. 22 ошибка - нет сигнала с Датчика коленв
А нужно именно форму, и время когда. Причем с двух датчиков, колена и распреда.Владимир Михайлович писал(а):Вольтметром снять можно. Ему же не форму импульса на оборотах исследовать, а в принципе он есть или нет.
Чтоб понимать все там стоит по местам. )
- Владимир Михайлович
- Сообщения: 6287
- Зарегистрирован: 22 фев 2008, 20:51
- Двигатель:: 6G74
- Мой автомобиль(и):: Монтеро 94 г.в.
- Откуда: Питер
- Откуда: Санкт-Петербург
- Благодарил (а): 69 раз
- Поблагодарили: 179 раз
Re: Заглох на ходу. 22 ошибка - нет сигнала с Датчика коленв
Ну это уже высший пилотаж. А ему надо в принципе понять. 5 Вольт висит и не меняется, а меняться должно, хоть как.SNOOPER писал(а):А нужно именно форму, и время когда. Причем с двух датчиков, колена и распреда.Владимир Михайлович писал(а):Вольтметром снять можно. Ему же не форму импульса на оборотах исследовать, а в принципе он есть или нет.
Чтоб понимать все там стоит по местам. )
Монтеро 5 дв. 6G74.АКПП. 94 г.в.
- SNOOPER
- Модератор
- Сообщения: 57351
- Зарегистрирован: 11 дек 2004, 19:49
- Двигатель:: 4D56
- Мой автомобиль(и):: NewMPS
- Откуда: 78
- Откуда: Spb
- Благодарил (а): 1023 раза
- Поблагодарили: 4772 раза
Re: Заглох на ходу. 22 ошибка - нет сигнала с Датчика коленв
Чтоб понять что там меняется, нужна стрелочная цэшка. )
- Владимир Михайлович
- Сообщения: 6287
- Зарегистрирован: 22 фев 2008, 20:51
- Двигатель:: 6G74
- Мой автомобиль(и):: Монтеро 94 г.в.
- Откуда: Питер
- Откуда: Санкт-Петербург
- Благодарил (а): 69 раз
- Поблагодарили: 179 раз
Re: Заглох на ходу. 22 ошибка - нет сигнала с Датчика коленв
Черт, все забываю, что жизнь ушла вперед. Я то по старинке, только стрелочным и пользуюсь. А цифровым да, херня будет вылазить...SNOOPER писал(а):Чтоб понять что там меняется, нужна стрелочная цэшка. )
Монтеро 5 дв. 6G74.АКПП. 94 г.в.
- dvm99
- Сообщения: 22483
- Зарегистрирован: 21 май 2012, 20:59
- Двигатель:: 6G72, 12клап.,
- Мой автомобиль(и):: Pajero2, Запорожец- Ланос
- Откуда: Свердловская обл.
- Благодарил (а): 749 раз
- Поблагодарили: 1090 раз
Re: Заглох на ходу. 22 ошибка - нет сигнала с Датчика коленв
Дык о наличии сигнала любая покажет... Даже на цифровой будет чехорда, что уже скажет о наличии сигнала при прокручивании, но жёстких +5В не будет (а у ТС сейчас именно это).SNOOPER писал(а):Чтоб понять что там меняется, нужна стрелочная цэшка. )
Саш, зачем ему распред, когда тупо сигнала от КВ нет?SNOOPER писал(а): Причем с двух датчиков, колена и распреда.
ЗЫ
Снимал в своё время сигналы ДПКВ и ДПРВ через аудиовход ноутбука звуковым редактором.
Красотищща, всё видно!
Дмитрий
Боливар2 - П2, 92г., V43, 6G72(12V), V4AW2, RD/L, пруль (чистокровный японский рысак)
Боливар1 - П2, 93г., 6G72(12V), МКПП, V43, RD/L, Европа (славный был конь, но уже донор)
Боливар2 - П2, 92г., V43, 6G72(12V), V4AW2, RD/L, пруль (чистокровный японский рысак)
Боливар1 - П2, 93г., 6G72(12V), МКПП, V43, RD/L, Европа (славный был конь, но уже донор)
- Captain Sergio
- Сообщения: 4557
- Зарегистрирован: 30 янв 2012, 22:01
- Двигатель:: 4G18
- Мой автомобиль(и):: Pajero Пинин, 1999, АКПП, BMW X5
- Откуда: Ульяновск
- Благодарил (а): 264 раза
- Поблагодарили: 346 раз
Re: Заглох на ходу. 22 ошибка - нет сигнала с Датчика коленв
Ну я так понимаю, что если колено тихонько ключом крутить, то в моменты прохода пустого сегмента (или полного?) через датчик напряжение должно упасть. Этого же достаточно, чтобы понять его работоспособность. Пойду попробую.
Сергей. Все будет хорошо! Грязезащита для рамных автомобилей.
- SNOOPER
- Модератор
- Сообщения: 57351
- Зарегистрирован: 11 дек 2004, 19:49
- Двигатель:: 4D56
- Мой автомобиль(и):: NewMPS
- Откуда: 78
- Откуда: Spb
- Благодарил (а): 1023 раза
- Поблагодарили: 4772 раза
Re: Заглох на ходу. 22 ошибка - нет сигнала с Датчика коленв
Есть такое понятие: Датчик фазы. Тоесть когда сигнал от колена и распреда встречаются в определённое время.dvm99 писал(а): Саш, зачем ему распред, когда тупо сигнала от КВ нет?![]()
Если эти сигналы идут в не расчетное время, сбился грм или сбило пластину считывателя, мотор не оживет. Не будет сигнала на форсунки.
- dvm99
- Сообщения: 22483
- Зарегистрирован: 21 май 2012, 20:59
- Двигатель:: 6G72, 12клап.,
- Мой автомобиль(и):: Pajero2, Запорожец- Ланос
- Откуда: Свердловская обл.
- Благодарил (а): 749 раз
- Поблагодарили: 1090 раз
Re: Заглох на ходу. 22 ошибка - нет сигнала с Датчика коленв
Да это понятно... На моих картинках в ПС это и показано: первый скрин- сверху дпкв, снизу- дпрв; второй скрин- дпрв синхронно с импульсом искры первого цилиндра (он самый высокий). Все временные интервалы хорошо считаются (секунды переводятся в градусы и сверяются с мануалом). Двухдучевой осцил не у всех есть, а ноутбук- почти у каждогоSNOOPER писал(а): Есть такое понятие: Датчик фазы. Тоесть когда сигнал от колена и распреда встречаются в определённое время.
Если эти сигналы идут в не расчетное время, сбился грм или сбило пластину считывателя, мотор не оживет. Не будет сигнала на форсунки.
Просто я предлагал сначала проверить дпкв в динамике любым тестером, прокручивая стартером, а уж потом на синхронность грешить.
Дмитрий
Боливар2 - П2, 92г., V43, 6G72(12V), V4AW2, RD/L, пруль (чистокровный японский рысак)
Боливар1 - П2, 93г., 6G72(12V), МКПП, V43, RD/L, Европа (славный был конь, но уже донор)
Боливар2 - П2, 92г., V43, 6G72(12V), V4AW2, RD/L, пруль (чистокровный японский рысак)
Боливар1 - П2, 93г., 6G72(12V), МКПП, V43, RD/L, Европа (славный был конь, но уже донор)
- Captain Sergio
- Сообщения: 4557
- Зарегистрирован: 30 янв 2012, 22:01
- Двигатель:: 4G18
- Мой автомобиль(и):: Pajero Пинин, 1999, АКПП, BMW X5
- Откуда: Ульяновск
- Благодарил (а): 264 раза
- Поблагодарили: 346 раз
Re: Заглох на ходу. 22 ошибка - нет сигнала с Датчика коленв
Покрутил ключом, все врeмя пять вольт. Посмотрел камерой. Провода целые, датчик как будто разрушен. Покупать новый буду. Ктo подскажет адекватную фирму производителя аналога?
Сергей. Все будет хорошо! Грязезащита для рамных автомобилей.
- Captain Sergio
- Сообщения: 4557
- Зарегистрирован: 30 янв 2012, 22:01
- Двигатель:: 4G18
- Мой автомобиль(и):: Pajero Пинин, 1999, АКПП, BMW X5
- Откуда: Ульяновск
- Благодарил (а): 264 раза
- Поблагодарили: 346 раз
Re: Заглох на ходу. 22 ошибка - нет сигнала с Датчика коленв
Ух, хороший аналог от Мицубиси электрикSNOOPER писал(а):J005T25081
Сергей. Все будет хорошо! Грязезащита для рамных автомобилей.
- Azan
- Сообщения: 2341
- Зарегистрирован: 21 май 2013, 16:04
- Двигатель:: 6G72
- Мой автомобиль(и):: Pajero Sport 1999
- Откуда: Тольятти
- Откуда: Тольятти
- Благодарил (а): 89 раз
- Поблагодарили: 117 раз
- Контактная информация:
Re: Заглох на ходу. 22 ошибка - нет сигнала с Датчика коленв
Один раз видел диагностику датчика коленвала довольно необычным способом... Один крутит стартером, второй контакты на фишке быстро, быстро замыкал/ размыкал....иии " схватывать начало" . Соната была 2.0 мотор миту. Датчик находится оч далекооо..
Дмитрий https://vk.com/europart163
