TRT - Вдоль р.Киржач. Для стандартных 4х4 (08.11.25) Форум Обсуждение FAQ
Рычаг АКПП
Модераторы: SNOOPER, Nbf, Romik, BAlex, drcham, DenVer
- Stecoff
- Сообщения: 6
- Зарегистрирован: 16 апр 2011, 13:15
- Двигатель:: Montero 3,5 V6
- Мой автомобиль(и):: Mitsubishi Montero 3 Limited
- Откуда: г.Гомель
- Контактная информация:
Рычаг АКПП
Други, гонял вчера все было ок, утром проснулся и вот - PRND ходит туго, + и - полет нормальный. Может это быть тросик? если да то где его там смазывать и как до него добратться. Или же все намного хуже??? 
- daos
- Сообщения: 583
- Зарегистрирован: 02 дек 2009, 12:01
- Двигатель:: 6G74 GDI
- Мой автомобиль(и):: Pajero Wagon, 2001
- Откуда: Украина, Донецк
- Поблагодарили: 6 раз
Re: Рычаг АКПП
А я, если топистартер не против, тоже здесь вопрос задам. У меня ручка АКПП болтается немного в положении драйв. Как ее можно закрепить?
ЗЫ. тоннель разбирал, о чем речь, если что представляю.))
ЗЫ. тоннель разбирал, о чем речь, если что представляю.))
...и каждый раз на миг прощаясь, прощайтесь будто навсегда...
Pajero Wagon III long, 6G74 GDI, 2001г.,BFG AT,...
Pajero Wagon III long, 6G74 GDI, 2001г.,BFG AT,...
- HiTEX
- Сообщения: 7005
- Зарегистрирован: 29 мар 2009, 20:13
- Двигатель:: 6G72 24V
- Мой автомобиль(и):: Pajero III коротыш
- Откуда: Алма-Ата
- Благодарил (а): 72 раза
- Поблагодарили: 323 раза
Re: Рычаг АКПП
Stecoff. Для начала под машиной брызни ВД40 на вал междк коробкой и ... забыл как правильно называется (вариатор) ну куда трос подходит. Ну если не поможет, тогда разбирай шахту, откручивай трос, накручивай на оплётку изоленту, натягивай пластиковую бутылку с маслом и дави на неё. Чтоб масло просочилось между оплёткой и жилкой
Дед Василь
- daos
- Сообщения: 583
- Зарегистрирован: 02 дек 2009, 12:01
- Двигатель:: 6G74 GDI
- Мой автомобиль(и):: Pajero Wagon, 2001
- Откуда: Украина, Донецк
- Поблагодарили: 6 раз
Re: Рычаг АКПП
Хайтекс, болтается внизу, сама палка.
...и каждый раз на миг прощаясь, прощайтесь будто навсегда...
Pajero Wagon III long, 6G74 GDI, 2001г.,BFG AT,...
Pajero Wagon III long, 6G74 GDI, 2001г.,BFG AT,...
- daos
- Сообщения: 583
- Зарегистрирован: 02 дек 2009, 12:01
- Двигатель:: 6G74 GDI
- Мой автомобиль(и):: Pajero Wagon, 2001
- Откуда: Украина, Донецк
- Поблагодарили: 6 раз
Re: Рычаг АКПП
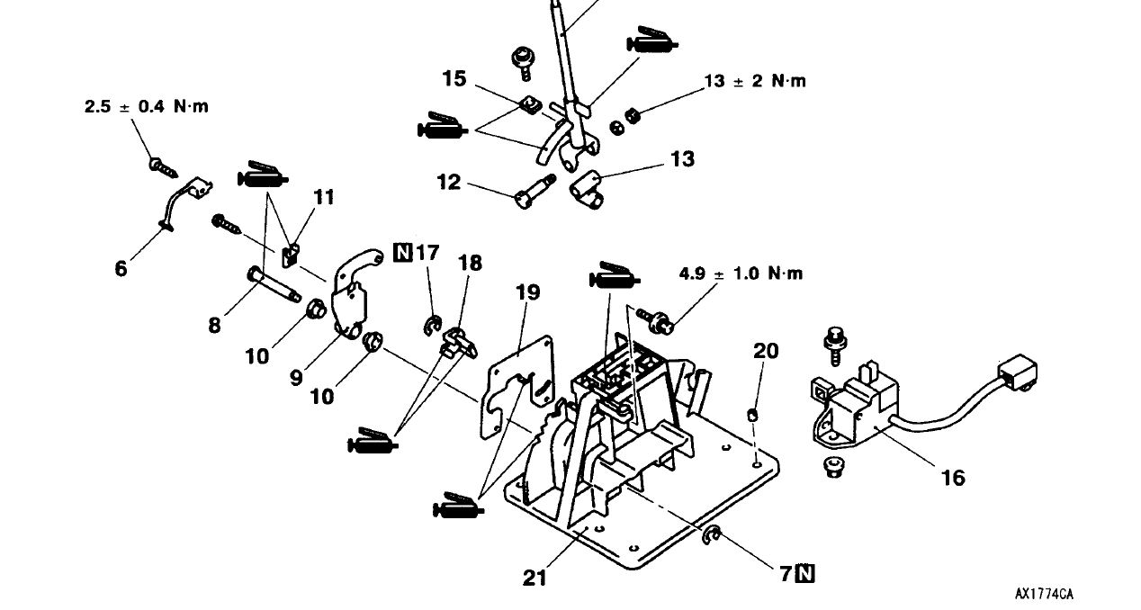
Вот 12-13 я пытался крутил, они вроде как напрашиваются, ан нет закручено до упора. А вот 10 втулки я честно не пойму каким боком туда касаются и если втулки то наверное их под замену?
...и каждый раз на миг прощаясь, прощайтесь будто навсегда...
Pajero Wagon III long, 6G74 GDI, 2001г.,BFG AT,...
Pajero Wagon III long, 6G74 GDI, 2001г.,BFG AT,...
- Stecoff
- Сообщения: 6
- Зарегистрирован: 16 апр 2011, 13:15
- Двигатель:: Montero 3,5 V6
- Мой автомобиль(и):: Mitsubishi Montero 3 Limited
- Откуда: г.Гомель
- Контактная информация:
Re: Рычаг АКПП
У меня проблема каким-то образом решилась сама собой, поездил вчера немного по лужам , видно что-то смыло и все стало ок. тьфу-тьфу. 
